| Обозначение: |  ГОСТ 21054-75 |
| Статус: | действующий |
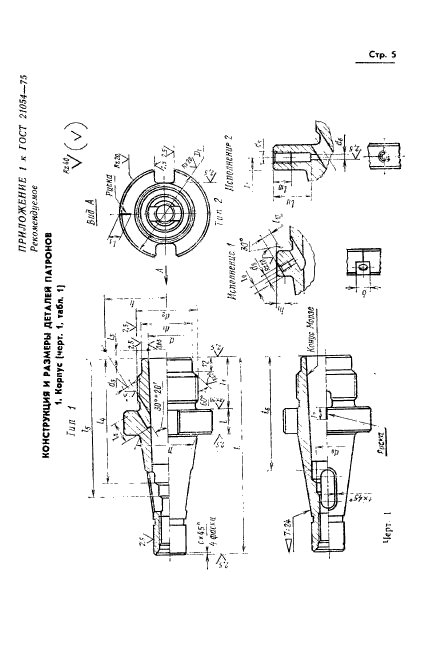
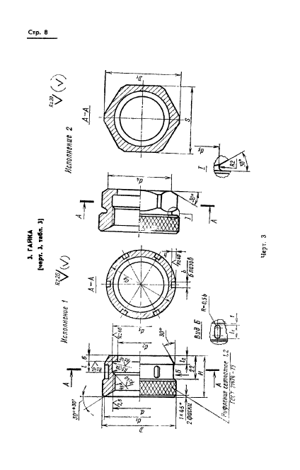
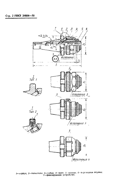
| Название рус.: | Патроны фрезерные для крепления инструмента с коническим хвостовиком. Конструкция и размеры |
| Название англ.: | Milling machine chucks for holding tapered shank tools. Design and dimensions |
| Дата актуализации текста: | 06.04.2015 |
| Дата актуализации описания: | 01.07.2023 |
| Дата издания: | 01.04.1982 |
| Дата введения: | 01.01.1977 |
| Код ОКП: | 392810 |
| Взамен: | МН 5553-64 |
| Нормативные ссылки: | ГОСТ 9.073-77; ГОСТ 1050-74; ГОСТ 1435-74; ГОСТ 2848-75; ГОСТ 4543-71; ГОСТ 10549-80; ГОСТ 13789-68; ГОСТ 16093-81; ГОСТ 17166-71; ГОСТ 21474-75; ГОСТ 24643-81; ГОСТ 24644-81; ГОСТ 24705-81;СТ СЭВ 147-75 |
| Область применения: | Настоящий стандарт распространяется на патроны для бесшомпольного крепления концевого режущего и вспомогательного инструмента с коническим хвостовиком на фрезерных станках со шпинделями конусностью 7: 24 |
| Список изменений: | №1 от 01.07.1982 (рег. 26.02.1982) «Срок действия продлен» |
|