| Обозначение: |  ГОСТ 21509-76 |
| Статус: | действующий |
| Название рус.: | Лотки железобетонные оросительных систем. Технические условия |
| Название англ.: | Reinforced concrete shoots for irrigation systems. Specifications |
| Дата актуализации текста: | 06.04.2015 |
| Дата актуализации описания: | 01.01.2025 |
| Дата издания: | 01.11.1984 |
| Дата введения: | 01.01.1977 |
| Дата окончания срока действия: | 01.06.2025 |
| Код ОКП: | 585821 |
| Заменяющий: | ГОСТ 21509-2024 |
| Нормативные ссылки: | ГОСТ 103-76; ГОСТ 5781-82; ГОСТ 6467-79; ГОСТ 6727-80; ГОСТ 10060-76; ГОСТ 10178-76; ГОСТ 10180-78; ГОСТ 10268-80; ГОСТ 10922-75; ГОСТ 12730.5-78; ГОСТ 13015-75; ГОСТ 13015.0-83; ГОСТ 13015.1-81; ГОСТ 13015.2-81; ГОСТ 13015.3-81; ГОСТ 13015.4-84; ГОСТ 17625-83; ГОСТ 18105.1-80; ГОСТ 19177-81; ГОСТ 22266-76; ГОСТ 23009-78 |
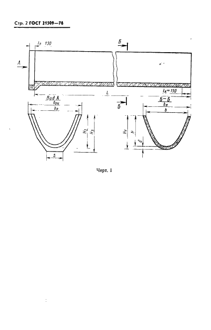
| Область применения: | Настоящий стандарт распространяется на железобетонные раструбные лотки параболического сечения, изготовляемые из тяжелого бетона средней плотностью 2200-2500 кг/м куб. включительно и предназначенные для устройства сборных распределительных каналов оросительных систем на расход воды до 5 м куб./с |
| Список изменений: | №1 от 01.01.1986 (рег. 11.09.1984) «Срок действия продлен» |
|