| Обозначение: |  ГОСТ 21584-76 |
| Статус: | действующий |
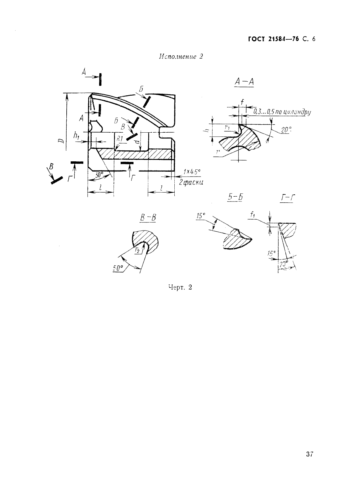
| Название рус.: | Зенкеры насадные для обработки деталей из легких сплавов. Конструкция и размеры |
| Название англ.: | Shell countersinks for machining parts from light alloys. Design and dimensions |
| Дата актуализации текста: | 06.04.2015 |
| Дата актуализации описания: | 01.07.2023 |
| Дата издания: | 01.05.1990 |
| Дата введения: | 01.01.1977 |
| Код ОКП: | 391600 |
| Взамен: | МН 330-60;МН 331-60 |
| Нормативные ссылки: | ISO 3314; ГОСТ 3478-68; ГОСТ 9472-70; ГОСТ 21586-76; ГОСТ 21587-76 |
| Область применения: | Настоящий стандарт распространяется на насадные цельные зенкеры, предназначенные для предварительной (зенкер № 1) и окончательной обработки отверстий по А4 (зенкер № 2) в деталях из легких сплавов |
|