| Обозначение: |  ГОСТ 16016-79 |
| Статус: | заменён |
| Название рус.: | Болты клеммные для рельсовых скреплений железнодорожного пути. Конструкция и размеры. Технические требования |
| Название англ.: | Clamp bolts for rail track fastenings. Design and dimensions. Technical requirements |
| Дата актуализации текста: | 06.04.2015 |
| Дата актуализации описания: | 01.07.2023 |
| Дата издания: | 01.10.1996 |
| Дата введения: | 01.01.1981 |
| Дата окончания срока действия: | 01.07.2015 |
| Код ОКП: | 129600 |
| Взамен: | ГОСТ 16016-70 |
| Заменяющий: | ГОСТ 16016-2014 |
| Нормативные ссылки: | ГОСТ 1759.0-87; ГОСТ 1759.4-87; ГОСТ 9.301-86; ГОСТ 24705-81; ГОСТ 16093-81; ГОСТ 17769-83; ГОСТ 1759.1-82; ГОСТ 1759.2-82; ГОСТ 9.302-88; ГОСТ 18160-72; ГОСТ 16018-79 |
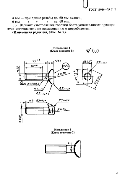
| Область применения: | Настоящий стандарт распространяется на клеммные болты нормальной точности (класс точности В) и грубой точности (класс точности С), применяемые для прикрепления рельса к подкладке в раздельных рельсовых скреплениях |
| Список изменений: | №1 от 01.06.1986 (рег. 02.12.1985) «Срок действия продлен» №2 от 01.01.1991 (рег. 26.06.1990) «Срок действия продлен» №3 от 01.01.1993 (рег. 02.06.1992) «Срок действия продлен» |
|