| Обозначение: |  ГОСТ 28527-90 |
| Статус: | действующий |
| Название рус.: | Фрезы дисковые трехсторонние. Типы и размеры |
| Название англ.: | Disk-type side milling cutters. Types and dimensions |
| Дата актуализации текста: | 06.04.2015 |
| Дата актуализации описания: | 01.01.2026 |
| Дата издания: | 01.01.2008 |
| Дата введения: | 01.01.1991 |
| Дата окончания срока действия: | 01.07.2026 |
| Код ОКП: | 391833 |
| Взамен: | ГОСТ 3755-78; ГОСТ 9474-73 |
| Содержит требования: | СТ СЭВ 117-89 |
| На территории РФ пользоваться: | ГОСТ Р 72146-2025 |
| Нормативные ссылки: | ISO 2587:1972; ГОСТ 1695-80; ГОСТ 9472-90 |
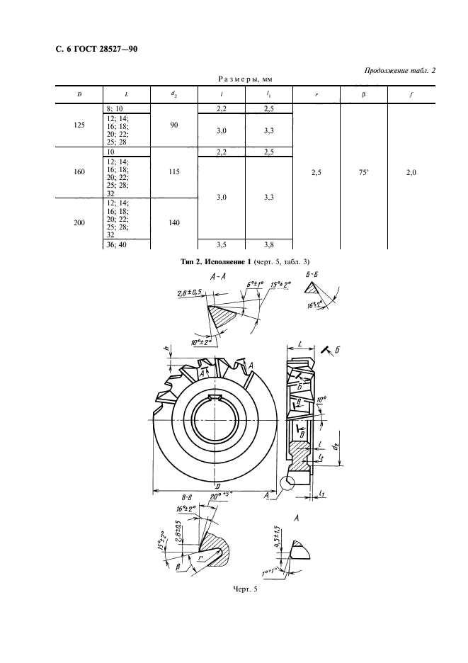
| Область применения: | Настоящий стандарт распространяется на дисковые трехсторонние фрезы из быстрорежущей стали с прямыми и разнонаправленными зубьями диаметром от 50 до 200 мм, предназначенные для обработки пазов общего назначения и шпоночных пазов с предельными отклонениями по H9, P9, N9 в изделиях их конструкционных сталей и чугунов |
|