| Обозначение: |  ГОСТ 8691-73 |
| Статус: | заменён |
| Название рус.: | Изделия огнеупорные общего назначения. Форма и размеры |
| Название англ.: | General-purpose refractory articles. Form and dimensions |
| Дата актуализации текста: | 06.04.2015 |
| Дата актуализации описания: | 01.07.2023 |
| Дата издания: | 01.07.2005 |
| Дата введения: | 01.01.1975 |
| Дата окончания срока действия: | 01.02.2019 |
| Код ОКП: | 150000 |
| Взамен: | ГОСТ 8691-58 |
| Заменяющий: | ГОСТ 8691-2018 |
| Содержит требования: | ISO 5019-1:1984;ISO 5019-2:1984;ISO 5019-5:1984 |
| Нормативные ссылки: | ГОСТ 390-96; ГОСТ 4157-79; ГОСТ 5040-96; ГОСТ 24704-94;БДС 4749-72 |
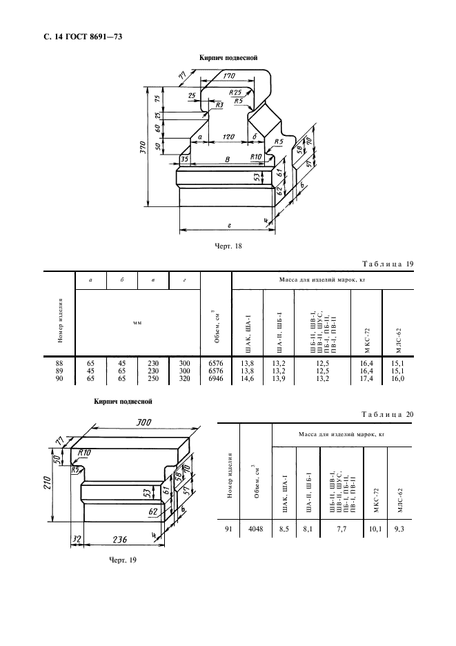
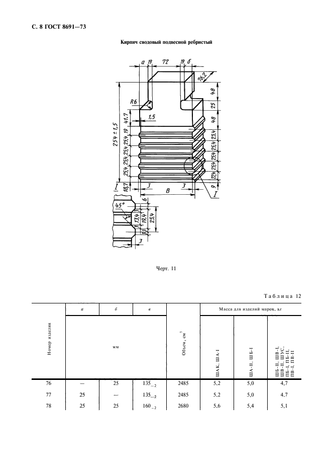
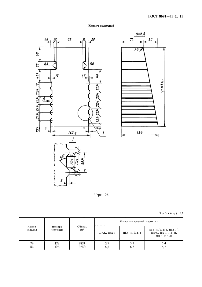
| Область применения: | Настоящий стандарт распространяется на огнеупорные изделия общего назначения, применяемые для кладки различных тепловых агрегатов |
| Список изменений: | №1 от 01.03.1977 (рег. 10.10.1977) «Срок действия продлен» №2 от 01.01.1985 (рег. 06.08.1984) «Срок действия продлен» №3 от 01.01.1990 (рег. 18.05.1989) «Поправка» №4 от 01.01.1993 (рег. 14.04.1992) «Поправка» |
|