| Обозначение: |  ГОСТ 19046-80 |
| Статус: | действующий |
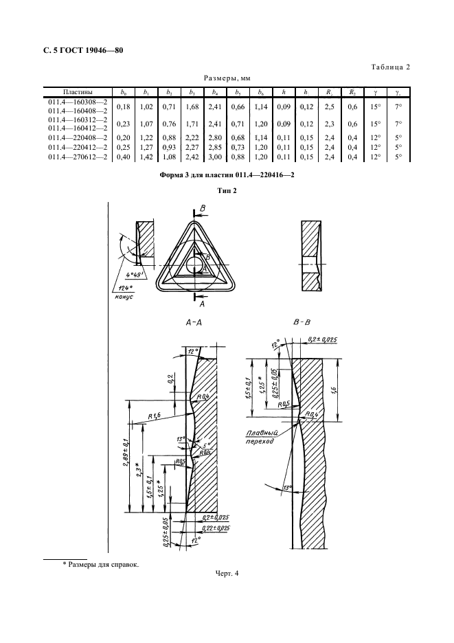
| Название рус.: | Пластины режущие сменные многогранные твердосплавные трехгранной формы с отверстием и стружколомающими канавками на одной стороне. Конструкция и размеры |
| Название англ.: | Triangular throw-away (indexable) carbide cutting inserts with cylindrical holes and chip-breaking flutes on one face only. Design and dimensions |
| Дата актуализации текста: | 06.04.2015 |
| Дата актуализации описания: | 01.07.2023 |
| Дата издания: | 01.09.2006 |
| Дата введения: | 01.01.1982 |
| Код ОКП: | 196000 |
| Взамен: | ГОСТ 19046-73 |
| Нормативные ссылки: | ISO 3364:1985; ГОСТ 19042-80; ГОСТ 19086-80 |
| Область применения: | Настоящий стандарт распространяется на пластины режущие сменные многогранные твердосплавные трехгранной формы с отверстием и стружколомающими канавками на одной стороне, на их конструкцию и размеры |
| Список изменений: | №1 от 01.01.1985 (рег. 29.10.1984) «Срок действия продлен» №2 от 01.08.1991 (рег. 29.12.1990) «Срок действия продлен» |
|