| Обозначение: |  ГОСТ 22241-76 |
| Статус: | не действует в РФ |
| Название рус.: | Заглушки транспортировочные. Общие технические условия |
| Название англ.: | Transportation plugs. General specifications |
| Дата актуализации текста: | 06.04.2015 |
| Дата актуализации описания: | 01.07.2023 |
| Дата издания: | 01.08.2005 |
| Дата введения: | 01.01.1978 |
| Дата окончания срока действия: | 01.06.2021 |
| Код ОКП: | 146982;376000 |
| На территории РФ пользоваться: | ГОСТ Р 59311-2021 |
| Нормативные ссылки: | ГОСТ 26.008-85; ГОСТ 2991-85; ГОСТ 11709-81; ГОСТ 13841-95; ГОСТ 14192-96; ГОСТ 15150-69; ГОСТ 16337-77; ГОСТ 16338-85; ГОСТ 22852-77 |
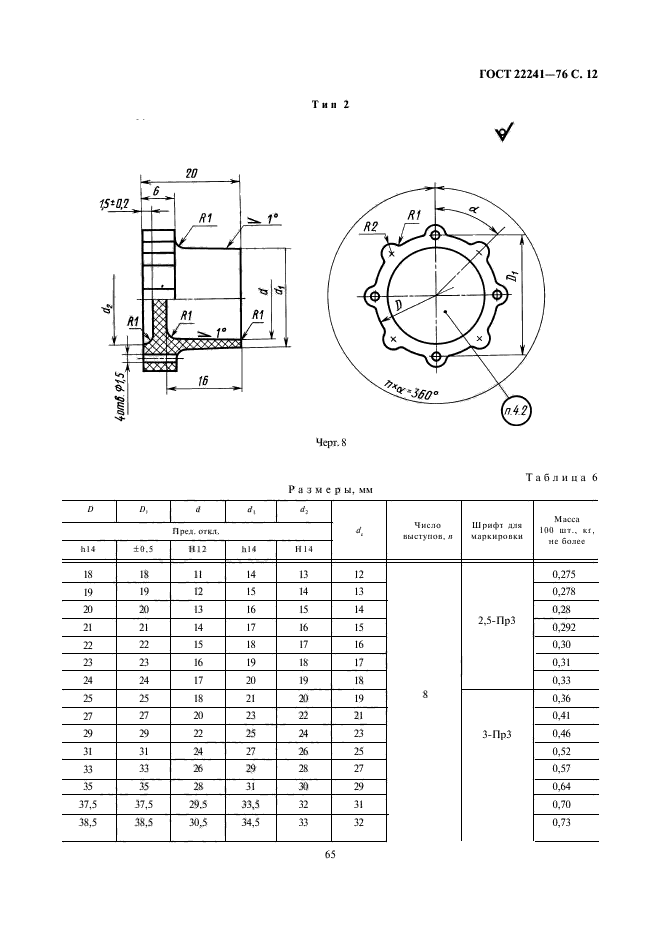
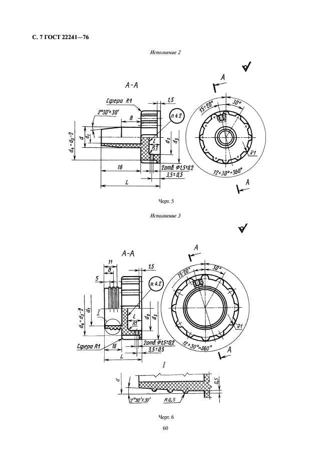
| Область применения: | Настоящий стандарт распространяется на транспортировочные заглушки, предназначенные для предохранения трубопроводов, штуцеров и наконечников агрегатов от засорения и механических повреждений при транспортировании, хранении, регламентных и других работах |
| Список изменений: | №1 от 01.01.1981 (рег. 23.07.1980) «Срок действия продлен» №2 от 30.06.1983 (рег. 29.10.1982) «Срок действия продлен» №3 от 01.01.1988 (рег. 23.06.1987) «Поправка» №4 от 01.07.1991 (рег. 29.10.1990) «Срок действия продлен» №5 от 01.03.1993 (рег. 30.09.1992) «Срок действия продлен» |
|