| Обозначение: |  ГОСТ 23617-79 |
| Статус: | действующий |
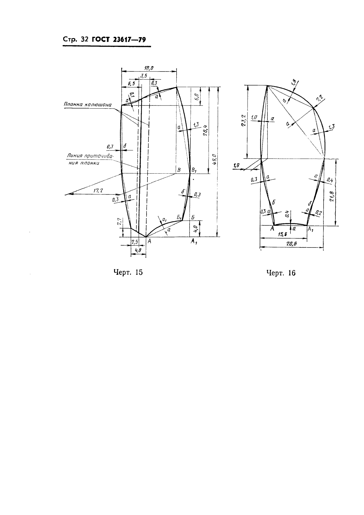
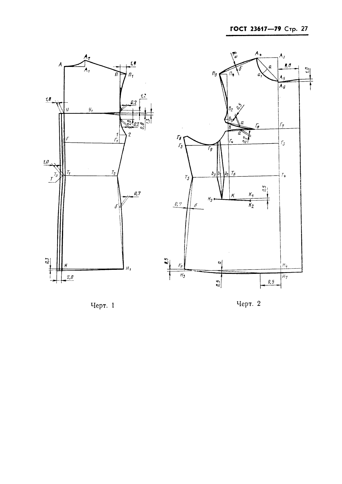
| Название рус.: | Одежда форменная. Куртка утепленная женская. Технические условия |
| Название англ.: | Uniform. Woman's warmed jacket. Specifications |
| Дата актуализации текста: | 06.04.2015 |
| Дата актуализации описания: | 01.07.2023 |
| Дата издания: | 16.08.1979 |
| Дата введения: | 01.01.1981 |
| Код ОКП: | 857300 |
| Нормативные ссылки: | ГОСТ 4103-82; ГОСТ 4661-76; ГОСТ 5665-77; ГОСТ 5679-85; ГОСТ 6309-87; ГОСТ 7259-77; ГОСТ 7896-76; ГОСТ 9009-77; ГОСТ 11109-74; ГОСТ 11259-79; ГОСТ 12239-76; ГОСТ 12807-88; ГОСТ 19008-82; ГОСТ 19159-85; ГОСТ 19196-80; ГОСТ 24782-81;ОСТ 17-148-72;ОСТ 17-165-88;ОСТ 17-326-81;ОСТ 17-466-85;ОСТ 17-805-85;ТУ 6-19-137-79;ТУ 17 РСФСР 50-6597-84;ТУ 17 РСФСР 60-11052-85;ТУ 17 РСФСР 62-10373-82;ТУ 17 РСФСР 63-9405-78;ТУ 17 РСФСР 67-10747-86 |
| Область применения: | Настоящий стандарт распространяется на форменные утепленные куртки, предназначенные для женщин-офицеров Советской Армии |
| Список изменений: | №1 от 01.02.1991 (рег. 26.06.1990) «Срок действия продлен» |
|