| Обозначение: |  ГОСТ 13218.4-80 |
| Статус: | действующий |
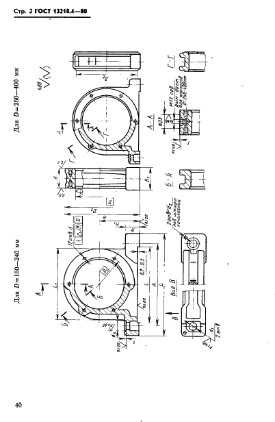
| Название рус.: | Корпуса типа УМ подшипников качения диаметром от 160 до 400 мм. Конструкция и размеры |
| Название англ.: | Pillow blocks blocks of serie УМ for rolling bearings of diameters from 160 till 400 mm. Constuction and dimensions |
| Дата актуализации текста: | 06.04.2015 |
| Дата актуализации описания: | 01.01.2021 |
| Дата издания: | 01.04.1981 |
| Дата введения: | 01.01.1982 |
| Код ОКП: | 418300 |
| Взамен: | ГОСТ 13218.4-67 |
| Область применения: | Настоящий стандарт распространяется на неразъемные узкие корпуса типа УМ со сквозным отверстием |
|