| Обозначение: |  ГОСТ 24184-80 |
| Статус: | действующий |
| Название рус.: | Фланцы металлические. Конструкция |
| Название англ.: | Flanges on two tension hoops. Design |
| Дата актуализации текста: | 06.04.2015 |
| Дата актуализации описания: | 01.07.2023 |
| Дата издания: | 01.05.1988 |
| Дата введения: | 01.07.1981 |
| Код ОКП: | 483471 |
| Взамен: | ГОСТ 19694-74 |
| Нормативные ссылки: | ГОСТ 380-88; ГОСТ 1412-85; ГОСТ 1583-89; ГОСТ 24201-80 |
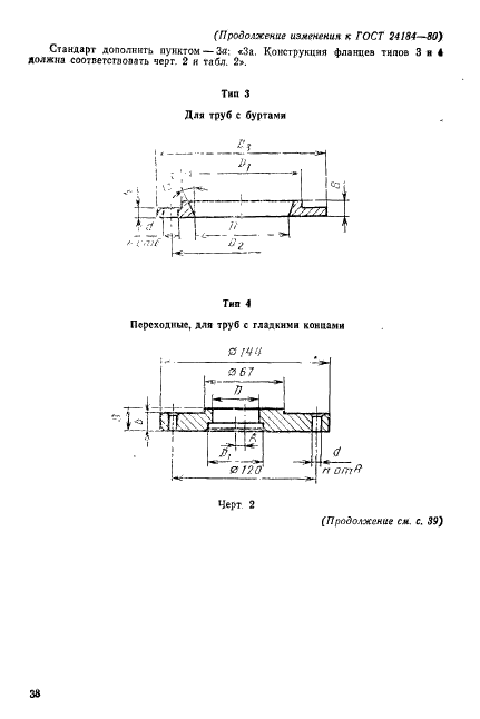
| Область применения: | Настоящий стандарт распространяется на фланцы металлические, применяемые для соединения стеклянных труб |
| Список изменений: | №1 от 01.02.1983 (рег. 23.09.1982) «Срок действия продлен» №2 от 01.07.1988 (рег. 28.01.1988) «Срок действия продлен» №3 от 01.07.1991 (рег. 29.11.1990) «Поправка» |
|