| Обозначение: |  ГОСТ 24998-81 |
| Статус: | действующий |
| Название рус.: | Калибры для конической резьбы вентилей и баллонов для газов. Допуски |
| Название англ.: | Gauges for tapes thread of valves and gas-bags. Tolerances |
| Дата актуализации текста: | 06.04.2015 |
| Дата актуализации описания: | 01.01.2021 |
| Дата издания: | 01.07.2003 |
| Дата введения: | 01.01.1983 |
| Код ОКП: | 393177 |
| Взамен в части: | ГОСТ 9909-70 в части калибров |
| Содержит требования: | СТ СЭВ 2649-80 |
| Нормативные ссылки: | ГОСТ 9909-81 |
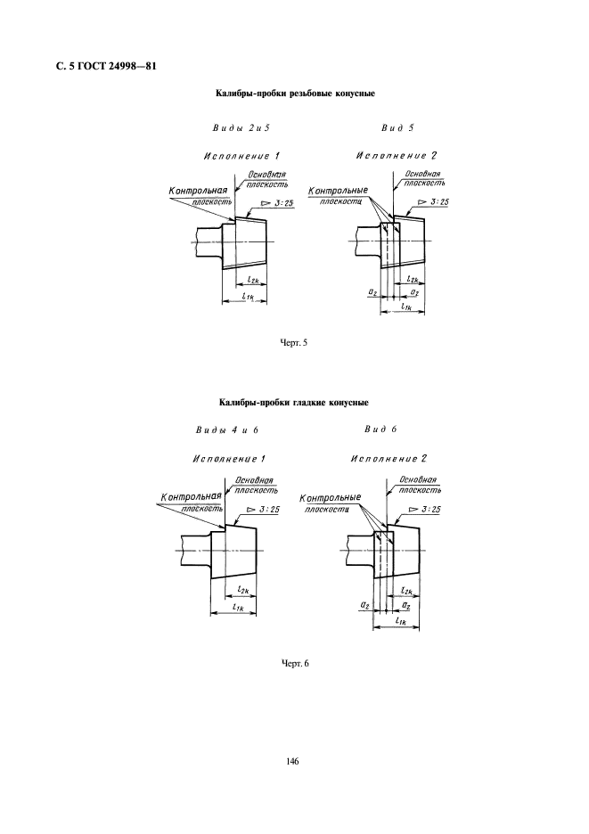
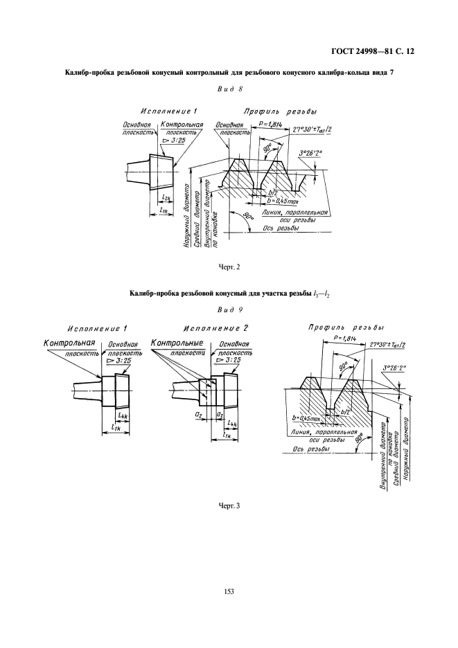
| Область применения: | Настоящий стандарт распространяется на резьбовые и гладкие калибры для конической резьбы вентилей и баллонов для газов и устанавливает виды калибров, профиль, длину рабочей части, допуски и формулы для расчета размеров резьбовых и гладких калибров |
| Список изменений: | №1 от 01.01.1991 (рег. 22.02.1990) «Срок действия продлен» |
|