| Обозначение: |  ГОСТ 24694-81 |
| Статус: | действующий |
| Название рус.: | Тройник железобетонный лотковых оросительных систем. Технические условия |
| Название англ.: | Reinforced concrete T-joint of flumed irrigation systems. Specifications |
| Дата актуализации текста: | 06.04.2015 |
| Дата актуализации описания: | 01.07.2023 |
| Дата издания: | 18.08.1981 |
| Дата введения: | 01.01.1982 |
| Код ОКП: | 585821 |
| Нормативные ссылки: | ГОСТ 5.1459-72; ГОСТ 5781-75; ГОСТ 6467-79; ГОСТ 8829-77; ГОСТ 10060-76; ГОСТ 10180-78; ГОСТ 10922-75; ГОСТ 13015-75; ГОСТ 17624-78; ГОСТ 17625-72; ГОСТ 18105.0-80; ГОСТ 18105.1-80; ГОСТ 18886-73; ГОСТ 19177-73; ГОСТ 21243-75; ГОСТ 22690.0-77; ГОСТ 22690.1-77; ГОСТ 22690.2-77; ГОСТ 22690.3-77; ГОСТ 22690.4-77; ГОСТ 22904-78;СНиП II-31-74 |
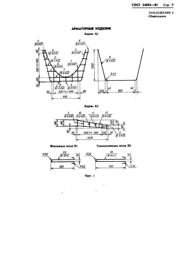
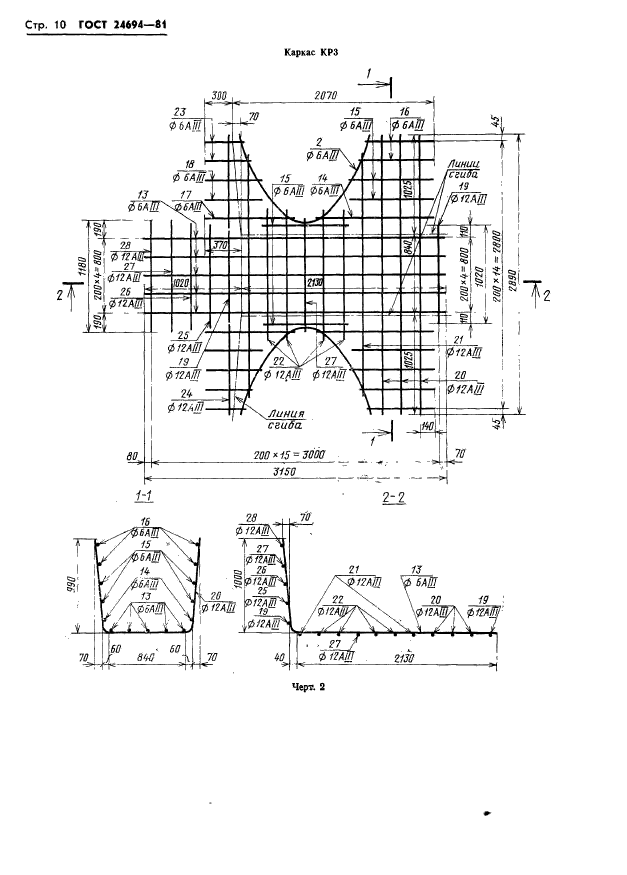
| Область применения: | Настоящий стандарт распространяется на железобетонные тройники из тяжелого бетона, предназначенные для устройства вододелителей на распределительных каналах оросительных систем с уклонами меньше критических, сооружаемых из железобетонных раструбных лотков параболического сечения высотой 400, 600 и 800 мм. Настоящий стандарт не распространяется на тройники вододелителей распределительных каналов оросительных систем, сооружаемых в районах с сейсмичностью более 8 баллов |
|