| Обозначение: |  ГОСТ 7360-82 |
| Статус: | заменён |
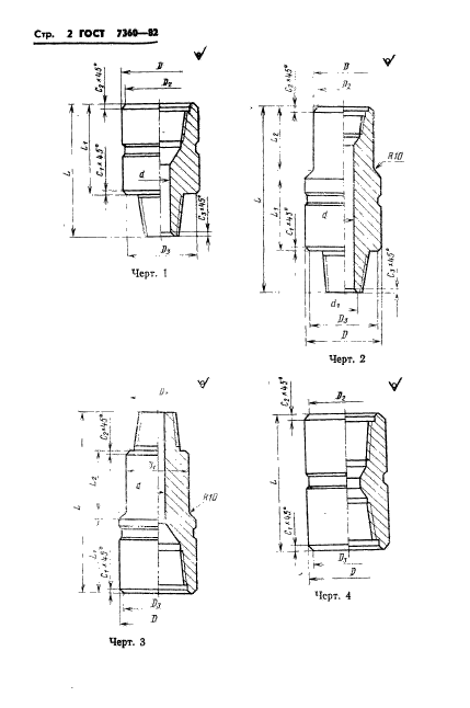
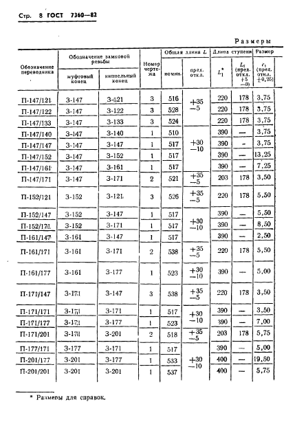
| Название рус.: | Переводники для бурильных колонн. Технические условия |
| Название англ.: | Drill-rod for substitutes. Specifications |
| Дата актуализации текста: | 06.04.2015 |
| Дата актуализации описания: | 01.07.2023 |
| Дата издания: | 26.03.1982 |
| Дата введения: | 01.01.1983 |
| Дата окончания срока действия: | 01.08.2016 |
| Код ОКП: | 366845 |
| Взамен: | ГОСТ 7360-75 |
| Заменяющий: | ГОСТ 7360-2015 |
| Нормативные ссылки: | ГОСТ 4593-70; ГОСТ 1.9-67; ГОСТ 9.301-78; ГОСТ 9.014-78; ГОСТ 5286-75; ГОСТ 9569-79; ГОСТ 20692-75; ГОСТ 2997-76; ГОСТ 1497-73; ГОСТ 9458-78; ГОСТ 14192-77; ГОСТ 9012-59; ГОСТ 6.37-79; ГОСТ 9.302-79; ГОСТ 10354-73 |
| Область применения: | Настоящий стандарт распространяется на переводники для соединения между собой частей бурильной колонны и присоединения к ней инструмента, применяемого при бурении скважин, изготовляемые для нужд народного хозяйства и для экспорта |
| Список изменений: | №1 от 01.01.1988 (рег. 25.06.1987) «Срок действия продлен» |
|