| Обозначение: |  ГОСТ 22804-83 |
| Статус: | действующий |
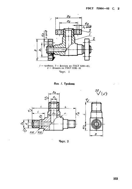
| Название рус.: | Сборочные единицы и детали трубопроводов. Тройники переходные с фланцами на Ру св. 10 до 100 МПа (св. 100 до 1000 кгс/см кв.). Конструкция и размеры |
| Название англ.: | Assembly units and pipeline parts. Flanged reducing T-branches for Pnom 9,81-98,1 MPa (100-1000 kgf/smsq). Construction and dimensions |
| Дата актуализации текста: | 06.04.2015 |
| Дата актуализации описания: | 01.07.2023 |
| Дата издания: | 01.10.1991 |
| Дата введения: | 01.01.1985 |
| Код ОКП: | 364700 |
| Взамен: | ГОСТ 22804-77 |
| Нормативные ссылки: | ГОСТ 9399-81; ГОСТ 9400-81; ГОСТ 22790-89 |
| Область применения: | Настоящий стандарт распространяется на переходные тройники с резьбовыми фланцами для трубопроводов с линзовым уплотнением, применяемых на предприятиях отраслей нефтехимической промышленности и для производства минеральных удобрений |
|