| Обозначение: |  ГОСТ 25930-83 |
| Статус: | действующий |
| Название рус.: | Крышки пластмассовые для цилиндрических соединителей. Технические условия |
| Название англ.: | Plastic covers for cylindrical connectors. Specifications |
| Дата актуализации текста: | 06.04.2015 |
| Дата актуализации описания: | 01.07.2023 |
| Дата издания: | 01.02.1990 |
| Дата введения: | 01.01.1985 |
| Код ОКП: | 106740 |
| Нормативные ссылки: | ГОСТ 20.57.406-81; ГОСТ 26.008-85; ГОСТ 1050-88; ГОСТ 2991-85; ГОСТ 5689-79; ГОСТ 11709-81; ГОСТ 14192-77; ГОСТ 15150-69; ГОСТ 16337-77; ГОСТ 16338-85; ГОСТ 16523-89; ГОСТ 17478-72; ГОСТ 19904-90; ГОСТ 20265-83; ГОСТ 20437-89; ГОСТ 21493-76;ОСТ 6-05-406-80;ОСТ 6-06-09-83;ОСТ 6-06-023-79;ОСТ 6-11-498-79 |
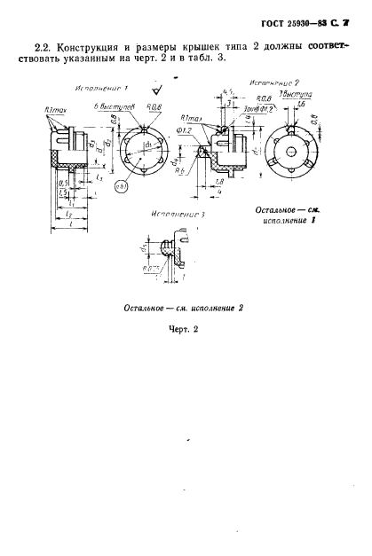
| Область применения: | Настоящий стандарт распространяется на пластмассовые крышки, предназначенные для защиты контактных частей электрических цилиндрических соединителей от загрязнений, механических повреждений при транспортировании, хранении и эксплуатации изделий |
| Список изменений: | №1 от 01.09.1988 (рег. 18.02.1988) «Срок действия продлен» №2 от 01.10.1989 (рег. 21.03.1989) «Срок действия продлен» |
|