| Обозначение: |  ГОСТ 25937-83 |
| Статус: | действующий |
| Название рус.: | Материалы обувные. Метод определения удельных объемного и поверхностного электрических сопротивлений |
| Название англ.: | Materials for shoes. Method for determination of specific volume and surface resistance |
| Дата актуализации текста: | 06.04.2015 |
| Дата актуализации описания: | 01.07.2023 |
| Дата издания: | 12.01.1984 |
| Дата введения: | 01.01.1985 |
| Нормативные ссылки: | ГОСТ 938.14-70; ГОСТ 5072-79 |
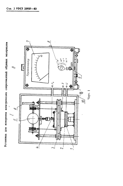
| Область применения: | Настоящий стандарт распространяется на материалы для верха, низа, подкладки и промежуточных деталей обуви и устанавливает метод определения удельных объемного и поверхностного электрических сопротивлений, характеризующих способность материалов к рассеянию электрических зарядов. Настоящий стандарт не распространяется на токопроводящие материалы |
|