Скачать ГОСТ 26239.9-84 Трихлорсилан. Метод определения хлористого метила, хлористого этила, бутана, изобутана, хлористого метилена, хлороформа, четыреххлористого углерода, метилдихлорсилана, метилтрихлорсилана, хлорметилметилсиланаДата актуализации: 01.06.2025 ГОСТ 26239.9-84
Трихлорсилан. Метод определения хлористого метила, хлористого этила, бутана, изобутана, хлористого метилена, хлороформа, четыреххлористого углерода, метилдихлорсилана, метилтрихлорсилана, хлорметилметилсилана
| Обозначение: |  ГОСТ 26239.9-84 |
| Статус: | действующий |
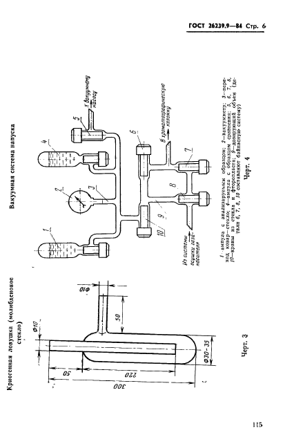
| Название рус.: | Трихлорсилан. Метод определения хлористого метила, хлористого этила, бутана, изобутана, хлористого метилена, хлороформа, четыреххлористого углерода, метилдихлорсилана, метилтрихлорсилана, хлорметилметилсилана | | Название англ.: | Trichlorsilane. Method of methyl chloride, ethyl chloride, butane, isobutane, methylene, chloroform, carbon tetrachloride, methyltrichlorsilane, chlormethylmethylsilane determination | | Дата актуализации текста: | 06.04.2015 | | Дата актуализации описания: | 01.07.2023 | | Дата издания: | 21.01.1985 | | Дата введения: | 01.01.1986 | | Нормативные ссылки: | ГОСТ 2769-78; ГОСТ 3022-80; ГОСТ 5072-79; ГОСТ 6521-72; ГОСТ 9293-74; ГОСТ 9968-86; ГОСТ 10157-79; ГОСТ 18300-87; ГОСТ 20015-74; ГОСТ 26239.0-84; ГОСТ ЭД1 7164-78 | | Область применения: | Настоящий стандарт устанавливает газохроматографический метод определения компонентов в трихлорсилане | | Список изменений: | №1 от 01.01.1991 (рег. 25.06.1990) «Срок действия продлен» | |
                  
|