| Обозначение: |  ГОСТ 12.4.145-84 |
| Статус: | действующий |
| Название рус.: | Система стандартов безопасности труда. Резина для низа специальной обуви. Метод определения теплопроводности |
| Название англ.: | Occupational safety standards system. Rubber for special shoes bottom. Method for determination of heat conduction |
| Дата актуализации текста: | 06.04.2015 |
| Дата актуализации описания: | 01.01.2021 |
| Дата издания: | 28.02.1985 |
| Дата введения: | 01.01.1987 |
| Код ОКП: | 874000 |
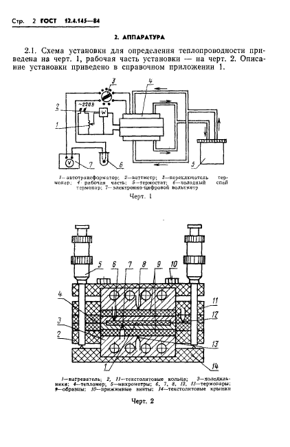
| Область применения: | Натоящий стандарт устанавливает метод определения теплопроводности резины для низа специальной обуви, предназначенной для защиты от повышенных температур в интервале температур от 18 град. до 150 град. С |
|