| Обозначение: |  ГОСТ 26399-84 |
| Статус: | действующий |
| Название рус.: | Инструмент для холодновысадочных автоматов. Пуансоны предварительные. Конструкция и размеры |
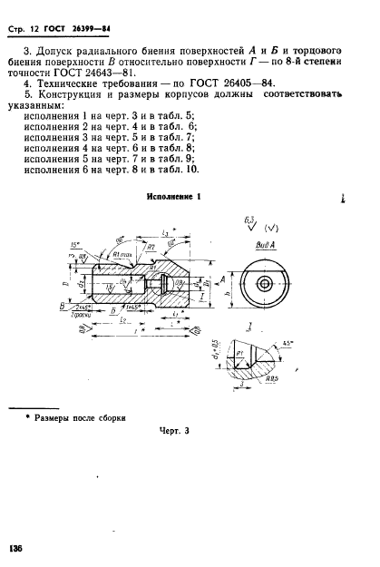
| Название англ.: | Tools for cold upset automatic machines. Coning punches. Construction and dimensions |
| Дата актуализации текста: | 06.04.2015 |
| Дата актуализации описания: | 01.07.2023 |
| Дата издания: | 30.07.1985 |
| Дата введения: | 01.07.1986 |
| Код ОКП: | 396313 |
| Нормативные ссылки: | ГОСТ 7795-70; ГОСТ 7796-70; ГОСТ 7798-70; ГОСТ 7805-70; ГОСТ 7808-70; ГОСТ 7811-70; ГОСТ 26405-84 |
| Область применения: | Настоящий стандарт распространяется на пуансоны с твердосплавной вставкой к двухударным автоматам для холодной высадки заготовок болтов номинальным диаметром резьбы от 4 до 20 мм, длиной более 5 d |
| Список изменений: | №1 от 01.01.1991 (рег. 25.12.1989) «Срок действия продлен» |
|