| Обозначение: |  ГОСТ 26618-85 |
| Статус: | действующий |
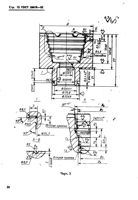
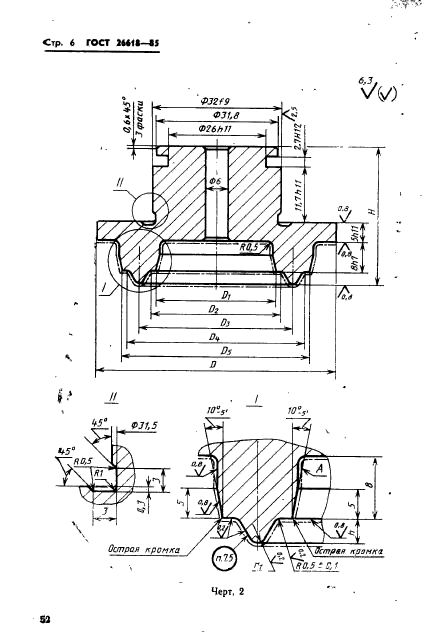
| Название рус.: | Пакеты двухкассетные пресс-форм для изготовления манжет гидравлических устройств. Конструкция и размеры |
| Название англ.: | Sets of two-casseta press-moulds for manufacturing of rubber u-packing seals. Design and dimensions |
| Дата актуализации текста: | 06.04.2015 |
| Дата актуализации описания: | 01.07.2023 |
| Дата издания: | 07.03.1986 |
| Дата введения: | 01.07.1986 |
| Код ОКП: | 396381 |
| Нормативные ссылки: | ГОСТ 14896-84; ГОСТ 24511-80; ГОСТ 24589-80; ГОСТ 24514-80 |
| Область применения: | Настоящий стандарт распространяется на пакеты для изготовления резиновых уплотнительных манжет по ГОСТ 14896-84 типов 1 и 3 размерами от 40х24 до 130х110 мм. Пакеты предназначены для установки в блоки двухкассетных пресс-форм по ГОСТ 20177-74 |
|