| Обозначение: |  ГОСТ 26548-85 |
| Статус: | действующий |
| Название рус.: | Воздухонагреватели. Методы испытаний |
| Название англ.: | Air heaters. Methods of tests |
| Дата актуализации текста: | 06.04.2015 |
| Дата актуализации описания: | 01.07.2023 |
| Дата издания: | 19.08.1985 |
| Дата введения: | 01.01.1986 |
| Код ОКП: | 486300 |
| Содержит требования: | CT CЭB 4484-84 |
| Нормативные ссылки: | ГОСТ 8.326-78; ГОСТ 12.2.003-74; ГОСТ 12.2.007.0-75; ГОСТ 12.3.002-75; ГОСТ 2405-88; ГОСТ 5976-90; ГОСТ 11161-84; ГОСТ 18140-84; ГОСТ 24555-81; ГОСТ 28498-90 |
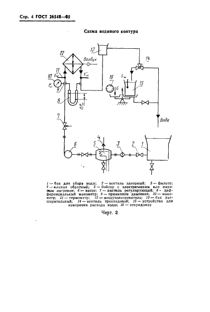
| Область применения: | Настоящий стандарт распространяется на воздухонагреватели, обогреваемые водой и паром, предназначенные для нагревания воздуха в системах кондиционирования воздуха, вентиляции, воздушного отопления, в сушильных установках и воздушно-тепловых завесах, и устанавливает методы стендовых теплотехнических, аэродинамических и гидравлических испытаний воздухонагревателей. Стандарт не распространяется на воздухонагреватели специального назначения и исполнения (воздухонагреватели кондиционеров, транспортных средств, отопительно-вентиляционных и других агрегатов) |
| Список изменений: | №1 от 01.01.1991 (рег. 17.07.1990) «Срок действия продлен» |
|