| Обозначение: |  ГОСТ 19596-87 |
| Статус: | действующий |
| Название рус.: | Лопаты. Технические условия |
| Название англ.: | Shovels. Specifications |
| Дата актуализации текста: | 06.04.2015 |
| Дата актуализации описания: | 01.07.2023 |
| Дата издания: | 30.09.1987 |
| Дата введения: | 01.01.1989 |
| Код ОКП: | 148920 |
| Взамен: | ГОСТ 3620-76; ГОСТ 19596-74 |
| Нормативные ссылки: | ГОСТ 9.032-64; ГОСТ 9.104-79; ГОСТ 380-88; ГОСТ 1050-74; ГОСТ 1144-80; ГОСТ 1145-80; ГОСТ 1542-71; ГОСТ 2140-81; ГОСТ 2695-83; ГОСТ 2789-73; ГОСТ 2991-85; ГОСТ 3282-74; ГОСТ 3560-73; ГОСТ 4543-71; ГОСТ 4976-83; ГОСТ 5631-79; ГОСТ 6449.1-82; ГОСТ 6465-76; ГОСТ 6631-74; ГОСТ 7016-82; ГОСТ 7931-76; ГОСТ 8273-75; ГОСТ 9013-59; ГОСТ 9078-84; ГОСТ 10299-80; ГОСТ 12082-82; ГОСТ 15150-69; ГОСТ 15612-85; ГОСТ 15846-79; ГОСТ 16338-85; ГОСТ 16483.7-71; ГОСТ 16523-70; ГОСТ 16588-79; ГОСТ 19903-74; ГОСТ 19904-74; ГОСТ 20435-75; ГОСТ 22225-76; ГОСТ 25346-82; ГОСТ 25951-83 |
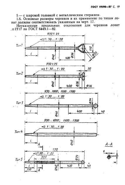
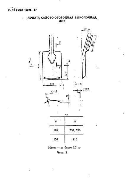
| Область применения: | Настоящий стандарт распространяется на лопаты, предназначенные для производства строительных, садово-огородных и погрузочно-разгрузочных работ |
| Список изменений: | №1 от 01.07.1989 (рег. 10.02.1989) «Срок действия продлен» |
|