| Обозначение: |  ГОСТ 22536.2-87 |
| Статус: | действующий |
| Название рус.: | Сталь углеродистая и чугун нелегированный. Методы определения серы |
| Название англ.: | Carbon steel and unalloyed cast iron. Methods for determination of sulphur |
| Дата актуализации текста: | 06.04.2015 |
| Дата актуализации описания: | 01.07.2023 |
| Дата издания: | 15.06.1987 |
| Дата введения: | 01.01.1988 |
| Код ОКП: | 087010;081000 |
| Взамен: | ГОСТ 22536.2-77 |
| Содержит требования: | CT CЭB 5283-85 |
| Нормативные ссылки: | ГОСТ 546-79; ГОСТ 860-75; ГОСТ 2603-79; ГОСТ 3118-77; ГОСТ 4159-79; ГОСТ 4202-75; ГОСТ 4204-77; ГОСТ 4232-74; ГОСТ 4328-77; ГОСТ 4470-79; ГОСТ 5583-78; ГОСТ 9286-82; ГОСТ 10163-76; ГОСТ 14261-77; ГОСТ 18300-87; ГОСТ 20490-75; ГОСТ 22300-76; ГОСТ 22536.0-87;ТУ 6-09-4711-81 |
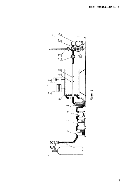
| Область применения: | Настоящий стандарт устанавливает титриметрический, кулонометрический методы и метод инфракрасной спектроскопии определения серы в углеродистой стали и нелегированном чугуне при массовой доле от 0,002 до 0,40 % |
| Список изменений: | №1 от 01.10.1990 (рег. 27.03.1990) «Срок действия продлен» |
|