Скачать ГОСТ 27875-88 Наконечники стоматологические пневмотурбинные и муфты шлангов. Присоединительные размерыДата актуализации: 01.06.2025 ГОСТ 27875-88
Наконечники стоматологические пневмотурбинные и муфты шлангов. Присоединительные размеры
| Обозначение: |  ГОСТ 27875-88 |
| Статус: | действующий |
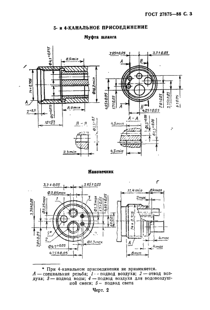
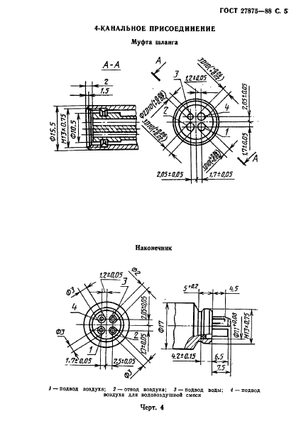
| Название рус.: | Наконечники стоматологические пневмотурбинные и муфты шлангов. Присоединительные размеры | | Название англ.: | Air turbine dental handpieces and flexible hose connectors. Mounting dimensions | | Дата актуализации текста: | 06.04.2015 | | Дата актуализации описания: | 01.07.2023 | | Дата издания: | 11.01.1989 | | Дата введения: | 01.07.1989 | | Код ОКП: | 945226 | | Содержит требования: | СТ СЭВ 6148-87 | | Нормативные ссылки: | ISO 9168:1988 | | Область применения: | Настоящий стандарт распространяется на стоматологические пневмотурбинные наконечники, пневматические аппараты для снятия зубного камня (далее - наконечники), пневмобормашины и устанавливает присоединительные размеры наконечников и муфт гибких шлангов, предназначенных для соединения наконечников и гибких шлангов пневмобормашин, с помощью которых обеспечивается питание наконечников водой, воздухом, светом и отвод воздуха | |
     
|