| Обозначение: |  ГОСТ 22689.2-89 |
| Статус: | заменён |
| Название рус.: | Трубы полиэтиленовые канализационные и фасонные части к ним. Конструкция |
| Название англ.: | Polyethylene waste-pipes and fittings. Construction |
| Дата актуализации текста: | 01.01.2021 |
| Дата актуализации описания: | 01.07.2023 |
| Дата издания: | 01.11.2000 |
| Дата введения: | 01.10.1989 |
| Дата окончания срока действия: | 01.07.2015 |
| Код ОКП: | 492600 |
| Взамен: | ГОСТ 22689.2-77; ГОСТ 22689.3-77; ГОСТ 22689.4-77; ГОСТ 22689.5-77; ГОСТ 22689.6-77; ГОСТ 22689.7-77; ГОСТ 22689.8-77; ГОСТ 22689.9-77; ГОСТ 22689.10-77; ГОСТ 22689.11-77; ГОСТ 22689.12-77; ГОСТ 22689.13-77; ГОСТ 22689.14-77; ГОСТ 22689.15-77; ГОСТ 22689.16-77; ГОСТ 22689.17-77; ГОСТ 22689.18-77; ГОСТ 22689.19-77; ГОСТ 22689.20-77 |
| Заменяющий: | ГОСТ 22689-2014 |
| Нормативные ссылки: | ГОСТ 7338-90; ГОСТ 16337-77; ГОСТ 22689.0-89 |
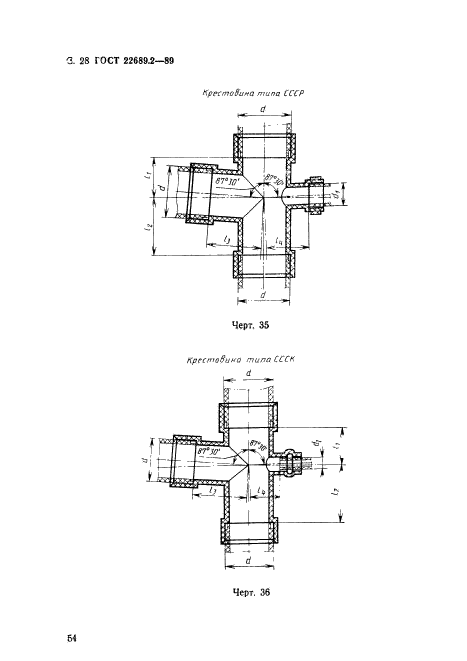
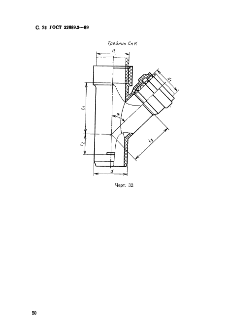
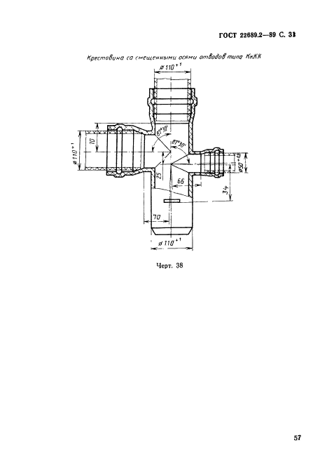
| Область применения: | Настоящий стандарт распространяется на трубы и фасонные части к ним из полиэтилена низкого и полиэтилена высокого давления, предназначенные для внутренней канализации зданий, и комплектующие детали к ним |
| Список изменений: | №0 от 30.09.1990 (рег. 30.09.1990) «Дата введения перенесена» |
|