| Обозначение: |  ГОСТ Р 50043.6-2000 |
| Статус: | отменён |
| Название рус.: | Соединительные устройства для низковольтных цепей бытового и аналогичного назначения. Часть 2-5. Дополнительные требования к соединительным коробкам (присоединения и/или ответвления медных проводников) для зажимов или соединительных устройств |
| Название англ.: | Connecting devices for low voltage circuits for household and similar purposes. Part 2-5. Particular requirements for connecting boxes ( junction and /or tapping of copper conductors) for terminals of connecting devices |
| Дата актуализации текста: | 06.04.2015 |
| Дата актуализации описания: | 01.07.2023 |
| Дата издания: | 23.02.2001 |
| Дата введения: | 01.01.2002 |
| Дата окончания срока действия: | 01.01.2014 |
| Код ОКП: | 342400 |
| Содержит требования: | IEC 60998-2-5(1996) |
| На территории РФ пользоваться: | ГОСТ 31195.2.5-2012 |
| Нормативные ссылки: | ГОСТ 14254-96; ГОСТ 24622-91; ГОСТ Р 50043.1-92; ГОСТ Р 50043.2-92; ГОСТ Р 50827-95 |
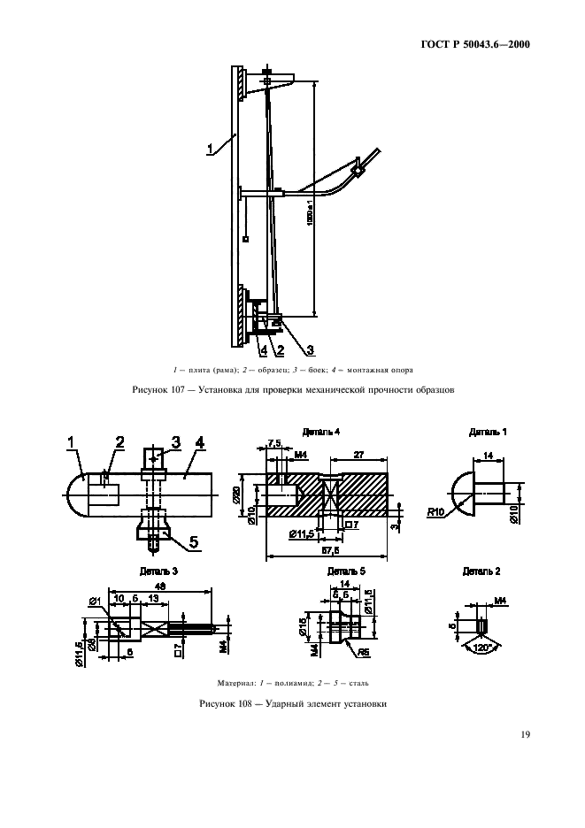
| Область применения: | Настоящий стандарт распространяется на соединительные коробки присоединения и/или ответвления медных проводников: - с неподвижными (составляющими единое целое или встроенными) контактными зажимами или соединительными устройствами; - с неподвижными контактными зажимами или соединительными устройствами; - с незакрепленными (плавающими) контактными зажимами или соединительными устройствами. Настоящий стандарт не распространяется: - на монтажные корпуса или кожуха для изделий бытовой и аналогичной стационарной установки |
| Список изменений: | №0 от 01.01.2014 (рег. 15.11.2012) «Текстовое изменение; Изменено заглавие» |
|