Скачать ГОСТ 28530-90 Оборудование для свеклосахарного производства. Теплообменники и подогреватели сока. Типы, основные параметры и размерыДата актуализации: 01.06.2025 ГОСТ 28530-90
Оборудование для свеклосахарного производства. Теплообменники и подогреватели сока. Типы, основные параметры и размеры
| Обозначение: |  ГОСТ 28530-90 |
| Статус: | действующий |
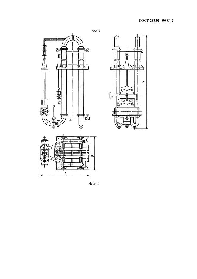
| Название рус.: | Оборудование для свеклосахарного производства. Теплообменники и подогреватели сока. Типы, основные параметры и размеры | | Название англ.: | Equipment for beet sugar production. Juice heat and heaters changers. Types, and basic parameters and dimensions | | Дата актуализации текста: | 06.04.2015 | | Дата актуализации описания: | 01.01.2021 | | Дата издания: | 01.05.2005 | | Дата введения: | 01.01.1991 | | Код ОКП: | 513111 | | Содержит требования: | СТ СЭВ 6697-89 | | Область применения: | Настоящий стандарт распространяется на трубчатые теплообменники и подогреватели сока, применяемые в свеклосахарном производстве для нагрева диффузионного, дефекованного и сатурационного соков, а также сока перед выпарной установкой | |
         
|