| Обозначение: |  ГОСТ 28905-91 |
| Статус: | действующий |
| Название рус.: | Машины землеройные. Ножи боковые бульдозерных отвалов. Отверстия |
| Название англ.: | Earth-moving machinery. Dozer end dits. Hole specification |
| Дата актуализации текста: | 06.04.2015 |
| Дата актуализации описания: | 01.01.2021 |
| Дата издания: | 01.11.2004 |
| Дата введения: | 01.01.1992 |
| Код ОКП: | 481440 |
| Содержит требования: | ISO 7891:1984 |
| Нормативные ссылки: | ГОСТ 28771-90 |
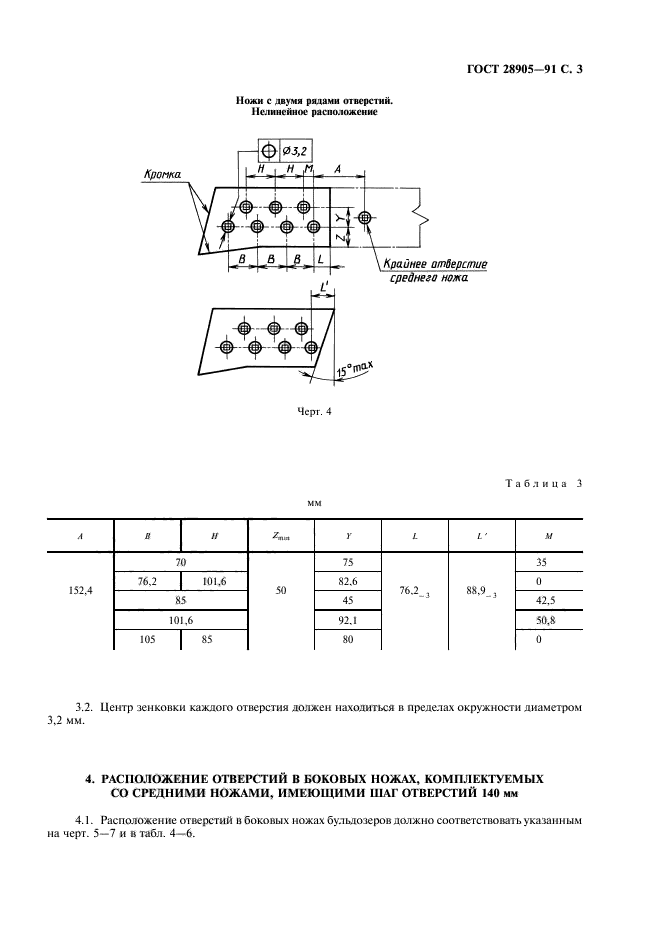
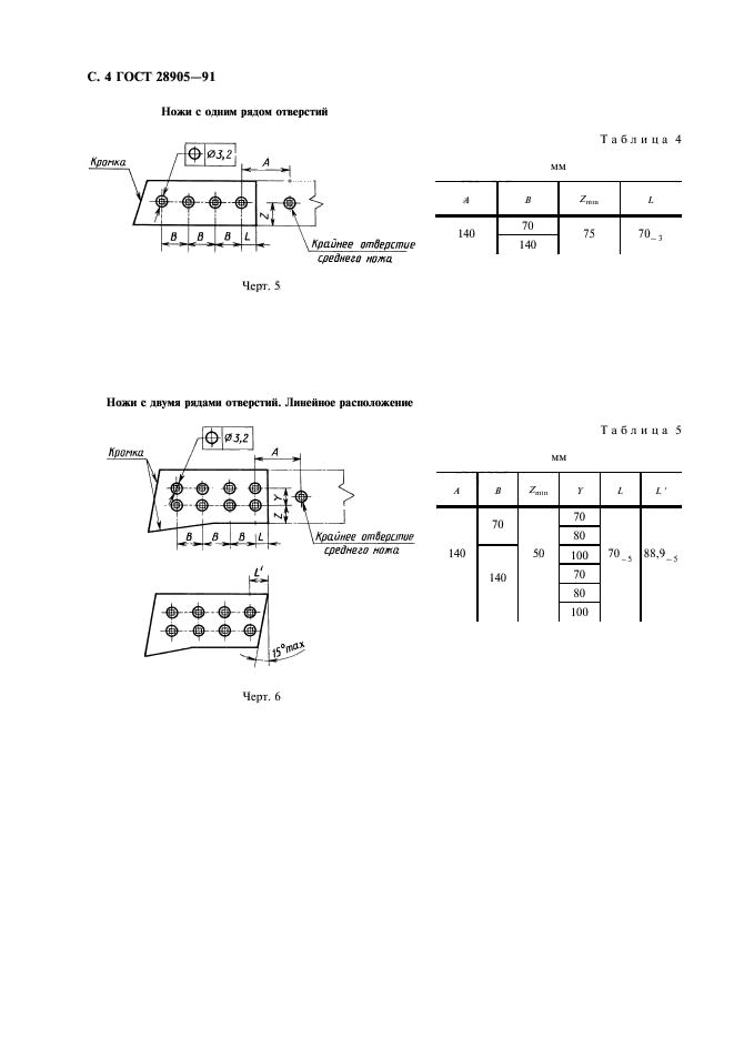
| Область применения: | Настоящий стандарт распространяется на поворотные, неповоротные, сферические и полусферические бульдозерные отвалы и устанавливает основные требования к расположению, формам и размерам отверстий под болты крепления боковых ножей бульдозерных отвалов. Стандарт распространяется на вновь разрабатываемые и модернизируемые бульдозеры |
|