| Обозначение: |  ГОСТ Р 50073-92 |
| Статус: | действующий |
| Название рус.: | Соединения трубопроводов разъемные фланцевые. Технические условия |
| Название англ.: | Pipelines flange types joint fittings. Specifications |
| Дата актуализации текста: | 06.04.2015 |
| Дата актуализации описания: | 01.07.2023 |
| Дата издания: | 01.08.1994 |
| Дата введения: | 01.07.1993 |
| Код ОКП: | 419300 |
| Нормативные ссылки: | ISO 3601-1:1978; ГОСТ 9.303-84; ГОСТ 1759.4-87; ГОСТ 9833-73; ГОСТ 15763-91; ГОСТ 16037-80; ГОСТ 18829-73 |
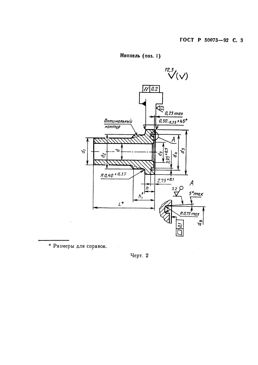
| Область применения: | Настоящий стандарт распространяется на резьбовые фланцевые соединения трубопроводов общемашиностроительного применения, работающие в условиях неагрессивных сред при температуре от минус 50 до плюс 120 град. С и номинальном (условном) давлении от 2,5 до 40 МПа (от 25 до 400 кгс/кв.см). Стандарт может быть использован для сертификации с объемами и методами сертификационных испытаний по ГОСТ 15763 |
|