| Обозначение: |  ГОСТ 22326-93 |
| Статус: | действующий |
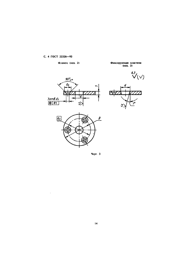
| Название рус.: | Соединения фланцевыми дюбелями для деревянных разъемных моделей и стержневых ящиков. Конструкция |
| Название англ.: | Joints by flange dowels for wooden split patterns and core boxes. Design |
| Дата актуализации текста: | 06.04.2015 |
| Дата актуализации описания: | 01.07.2023 |
| Дата регистрации: | 21.10.1993 |
| Дата издания: | 27.08.1995 |
| Дата введения: | 01.01.1995 |
| Код ОКП: | 396401 |
| Взамен: | ГОСТ 22326-77 |
| Нормативные ссылки: | ГОСТ 380-88; ГОСТ 977-88; ГОСТ 1583-93; ГОСТ 8908-81 |
| Область применения: | Настоящий стандарт устанавливает конструкцию и размеры соединений фланцевыми дюбелями |
|