| Обозначение: |  ГОСТ 23289-94 |
| Статус: | заменён |
| Название рус.: | Арматура санитарно-техническая водосливная. Технические условия |
| Название англ.: | Waste water drain sanitary accessories. Specifications |
| Дата актуализации текста: | 06.04.2015 |
| Дата актуализации описания: | 01.07.2023 |
| Дата регистрации: | 17.11.1994 |
| Дата издания: | 01.03.1996 |
| Дата введения: | 01.01.1996 |
| Дата окончания срока действия: | 01.04.2017 |
| Код ОКП: | 495000 |
| Взамен: | ГОСТ 23289-78; ГОСТ 23412-79; ГОСТ 4.231-84 |
| Заменяющий: | ГОСТ 23289-2016 |
| Нормативные ссылки: | ГОСТ 9.032-74; ГОСТ 9.301-86; ГОСТ 9.302-88; ГОСТ 9.303-84; ГОСТ 9.306-85; ГОСТ 166-89; ГОСТ 380-88; ГОСТ 494-90; ГОСТ 1412-85; ГОСТ 2226-88; ГОСТ 2689-54; ГОСТ 2991-85; ГОСТ 3262-75; ГОСТ 5582-75; ГОСТ 5631-79; ГОСТ 6357-81; ГОСТ 7338-90; ГОСТ 7933-89; ГОСТ 8433-81; ГОСТ 9833-73; ГОСТ 10354-82; ГОСТ 11710-66; ГОСТ 14192-77; ГОСТ 15150-69; ГОСТ 15527-70; ГОСТ 15846-79; ГОСТ 15897-79; ГОСТ 16093-81; ГОСТ 16337-77; ГОСТ 16338-85; ГОСТ 17711-93; ГОСТ 22689.2-89; ГОСТ 24705-81; ГОСТ 26996-86 |
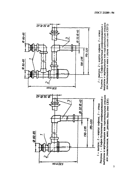
| Область применения: | Настоящий стандарт распространяется на арматуру санитарно-техническую водосливную: сифоны, выпуски, переливы и т.д., предназначенную для отведения в канализационную сеть сточных вод из санитарно-технических приборов (ванн, душевых поддонов, умывальников, моек, раковин, бидэ), устанавливаемых в зданиях различного назначения |
|