| Обозначение: |  ГОСТ Р 50940-96 |
| Статус: | действующий |
| Название рус.: | Устройства электрошоковые. Общие технические условия |
| Название англ.: | Electroshock batons. General specifications |
| Дата актуализации текста: | 06.04.2015 |
| Дата актуализации описания: | 01.07.2023 |
| Дата издания: | 17.10.1996 |
| Дата введения: | 01.01.1997 |
| Код ОКП: | 739950 |
| Нормативные ссылки: | ГОСТ Р 8.568-97; ГОСТ Р 15.201-2000; ГОСТ Р МЭК 335-1-94; ГОСТ Р МЭК 60065-2002; ГОСТ 4677-82; ГОСТ 15150-69; ГОСТ 23216-78; ГОСТ 27542-87; ГОСТ 28215-89; ГОСТ 30630.0.0-99 |
| Область применения: | Настоящий стандарт распространяется на электрошоковые устройства отечественного производства, предназначенные для использования в целях самообороны, и защитные электрошоковые устройства отечественного производства, предназначенные для защиты (охраны) стационарных и подвижных объектов гражданского и ведомственного назначения от несанкционированного проникновения и воздействия |
| Список изменений: | №1 от 01.01.1997 (рег. 02.09.1997) «Срок действия продлен» №2 от 09.07.2000 (рег. 22.12.1999) «Срок действия продлен» №3 от 31.08.2008 (рег. 01.07.2008) «Текстовое изменение; Изменены ссылочные НД» |
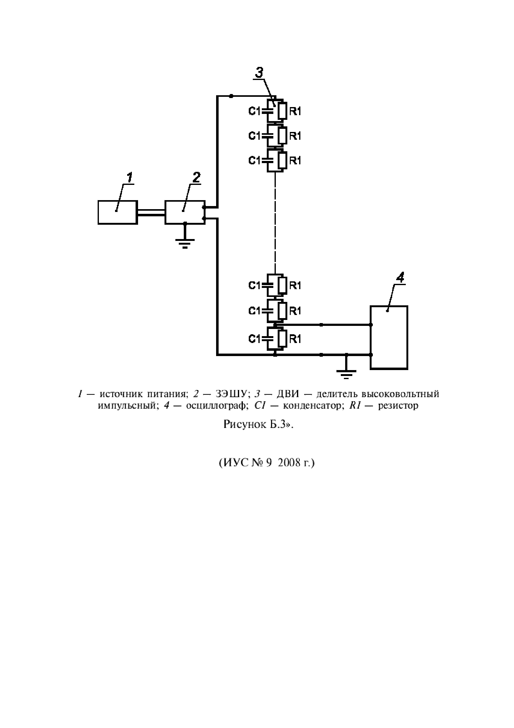
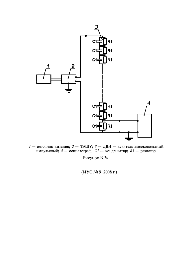
| Приложение №1: | Изменение №3 к ГОСТ Р 50940-96 |
|