| Обозначение: |  ГОСТ 14997-69 |
| Статус: | действующий |
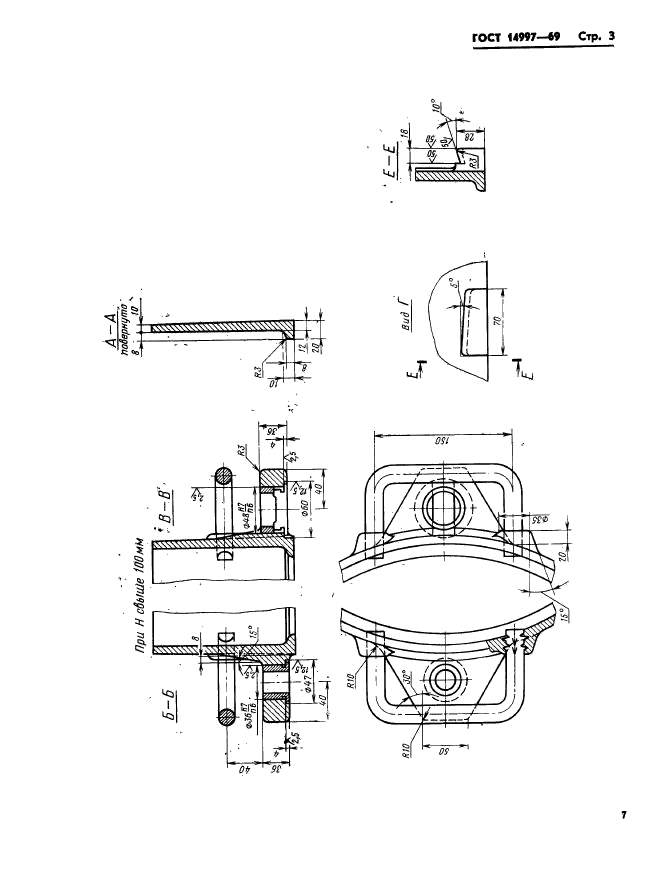
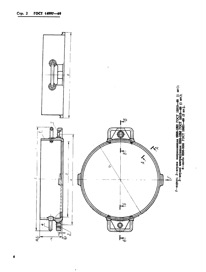
| Название рус.: | Опоки литейные цельнолитые чугунные круглые с упрощенным профилем стенок диаметром в свету: 400; 500 мм, высотой от 75 до 200 мм. Конструкция и размеры |
| Название англ.: | Circular iron all-cast moulding boxes with simplified wall profile having inside diameter 400; 500 mm, height from 75 to 200 mm. Construction and dimensions |
| Дата актуализации текста: | 06.04.2015 |
| Дата актуализации описания: | 01.07.2023 |
| Дата издания: | 01.11.1981 |
| Дата введения: | 01.01.1971 |
| Код ОКП: | 396190 |
| Взамен: | МН 2002-61 |
| Нормативные ссылки: | ГОСТ 15019-69; ГОСТ 15021-69; ГОСТ 8909-75 |
| Область применения: | Настоящий стандарт распространяется на литейные цельнолитые чугунные круглые опоки, предназначенные для изготовления песчаных литейных форм при машинной и ручной формовке. Стандарт не распространяется на опоки, применяемые при формовке методом прессования под высоким удельным давлением |
| Список изменений: | №1 от 01.11.1980 (рег. 09.07.1980) «Срок действия продлен» |
|