| Обозначение: |  ГОСТ 16378-70 |
| Статус: | действующий |
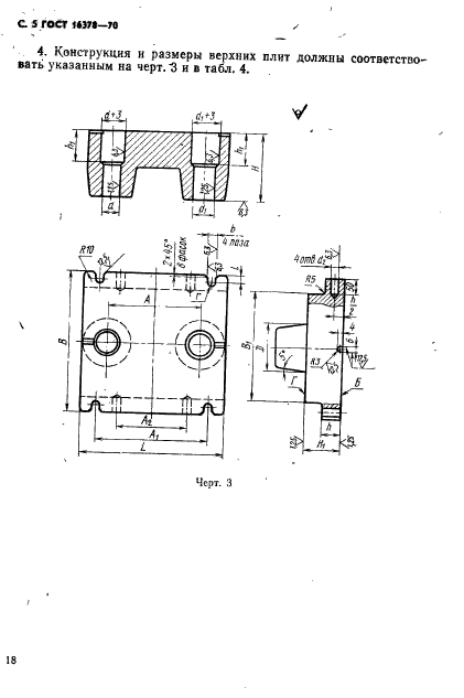
| Название рус.: | Блоки калибровочных штампов с осевым расположением направляющих колонок. Конструкция и размеры |
| Название англ.: | Die blocks of sizing dies with central location of guide posts. Construction and dimensions |
| Дата актуализации текста: | 06.04.2015 |
| Дата актуализации описания: | 01.07.2023 |
| Дата издания: | 01.02.1988 |
| Дата введения: | 01.01.1972 |
| Код ОКП: | 396323 |
| Взамен: | МН 4560-63 |
| Нормативные ссылки: | ГОСТ 977-75; ГОСТ 5384-84; ГОСТ 13119-81; ГОСТ 13121-83; ГОСТ 13139-74; ГОСТ 16380-70 |
| Область применения: | Настоящий стандарт распространяется на блоки штампов с осевым расположением направляющих колонок, предназначенных для калибровки на чеканочных прессах |
| Список изменений: | №1 от 01.01.1981 (рег. 16.07.1980) «Срок действия продлен» №2 от 01.01.1988 (рег. 28.07.1987) «Срок действия продлен» |
|