| Обозначение: |  ГОСТ 16254-70 |
| Статус: | действующий |
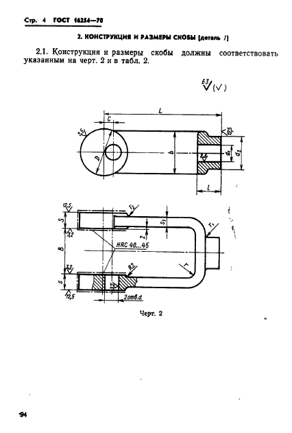
| Название рус.: | Формы металлические (кокили). Приспособления для удаления стержней. Скобы эксцентриковые. Конструкция и размеры |
| Название англ.: | Chill moulds. Core removers (eccentric cramps). Construction and dimensions |
| Дата актуализации текста: | 06.04.2015 |
| Дата актуализации описания: | 01.07.2023 |
| Дата издания: | 01.05.1982 |
| Дата введения: | 01.01.1972 |
| Код ОКП: | 396190 |
| Взамен: | МН 768-60 |
| Нормативные ссылки: | ГОСТ 8923-69; ГОСТ 9650-71; ГОСТ 9649-78; ГОСТ 397-79; ГОСТ 16262-70; ГОСТ 977-75 |
| Область применения: | Настоящий стандарт распространяется на эксцентриковые скобы для удаления стержней диаметром до 125 мм и длиной рабочей части до 100 мм |
| Список изменений: | №1 от 31.05.1981 (рег. 14.11.1980) «Срок действия продлен» |
|