| Обозначение: |  ГОСТ 8106-70 |
| Статус: | действующий |
| Название рус.: | Лампы электронные маломощные. Методы испытаний на внутриламповые замыкания и обрывы |
| Название англ.: | Low-power vacuum valves. Methods of internal shorts and breaks tests |
| Дата актуализации текста: | 06.04.2015 |
| Дата актуализации описания: | 01.01.2021 |
| Дата издания: | 01.04.1984 |
| Дата введения: | 01.01.1971 |
| Код ОКП: | 636100 |
| Взамен: | ГОСТ 8106-56 |
| Нормативные ссылки: | ГОСТ 8089-71 |
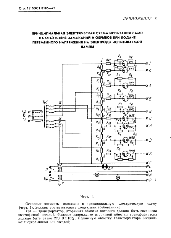
| Область применения: | Настоящий стандарт распространяется на лампы электронные мощностью рассеиваемой анодом, до 25 Вт и устанавливает: метод механического возбуждения; метод индикации при постоянных напряжения на электродах испытываемой лампы с запоминающими индикаторами; метод индикации при переменных напряжениях на электродах испытываемой лампы |
| Список изменений: | №2 от 01.08.1977 (рег. 30.03.1977) «Срок действия продлен» №3 от 01.04.1979 (рег. 01.11.1978) «Срок действия продлен» №4 от 01.02.1984 (рег. 27.10.1983) «Срок действия продлен» |
|