| Обозначение: |  ГОСТ 20197-74 |
| Статус: | действующий |
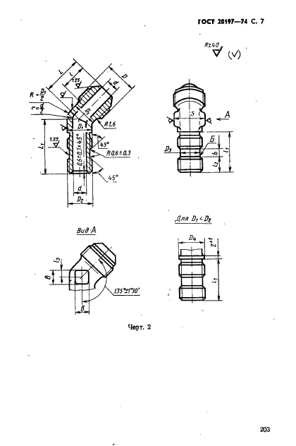
| Название рус.: | Угольники ввертные под резиновое уплотнение для соединений трубопроводов по наружному конусу. Конструкция и размеры |
| Название англ.: | Screwed union elbows for rubber packer for tube connections on external cone. Construction and dimensions |
| Дата актуализации текста: | 06.04.2015 |
| Дата актуализации описания: | 01.07.2023 |
| Дата издания: | 01.01.1988 |
| Дата введения: | 01.07.1975 |
| Код ОКП: | 759900;371000;374000 |
| Нормативные ссылки: | ГОСТ 13955-74; ГОСТ 13977-74 |
| Область применения: | Настоящий стандарт устанавливает конструкцию и размеры ввертных угольников под резиновое уплотнение |
| Список изменений: | №1 от 30.06.1981 (рег. 29.12.1980) «Срок действия продлен» №2 от 16.01.1986 (рег. 16.01.1986) «Срок действия продлен» |
|