Скачать ГОСТ 19438.1-74 Лампы приемно-усилительные и генераторные мощностью, продолжительно рассеиваемой анодом, до 25 Вт. Методы измерения динамического коэффициента усиления и асимметрии усиления на низкой частотеДата актуализации: 01.06.2025 ГОСТ 19438.1-74
Лампы приемно-усилительные и генераторные мощностью, продолжительно рассеиваемой анодом, до 25 Вт. Методы измерения динамического коэффициента усиления и асимметрии усиления на низкой частоте
| Обозначение: |  ГОСТ 19438.1-74 |
| Статус: | действующий |
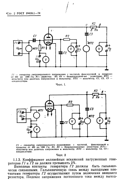
| Название рус.: | Лампы приемно-усилительные и генераторные мощностью, продолжительно рассеиваемой анодом, до 25 Вт. Методы измерения динамического коэффициента усиления и асимметрии усиления на низкой частоте | | Название англ.: | Receiving amplifier and transmitting tubes with power to 25 watt continuously scattered by anode. Measurement methods of dynamic amplification factor and amplificating asymmetri at LF | | Дата актуализации текста: | 06.04.2015 | | Дата актуализации описания: | 01.07.2023 | | Дата издания: | 04.04.1974 | | Дата введения: | 01.07.1975 | | Код ОКП: | 634300;634031 | | Взамен: | ГОСТ 8105-56 | | Нормативные ссылки: | ГОСТ 19.438.0-80 | | Область применения: | Настоящий стандарт распространяется на электронные, выпрямительные и генераторные лампы мощностью, продолжительно рассеиваемой анодом, до 25 Вт и устанавливает методы измерения динамического коэффициента усиления и асимметрии усиления в диапазоне частот от 400 до 1500 Гц с относительной погрешностью измерения не более 10%. Применение данных методов измерения предусматривается стандартами или техническими условиями, утвержденными в установленном порядке, на лампы конкретных типов | | Список изменений: | №0 от 13.08.1990 (рег. 13.08.1990) «Восстановлен на территории СНГ» №0 от 01.07.1988 (рег. 23.12.1987) «Текстовое изменение; Изменено заглавие» №1 от 01.06.1986 (рег. 11.03.1986) «Срок действия продлен» | |
         
|