| Обозначение: |  ГОСТ 19521-74 |
| Статус: | действующий |
| Название рус.: | Сварка металлов. Классификация |
| Название англ.: | Welding of metals. Classification |
| Дата актуализации текста: | 06.04.2015 |
| Дата актуализации описания: | 01.01.2021 |
| Дата издания: | 01.05.1978 |
| Дата введения: | 01.01.1975 |
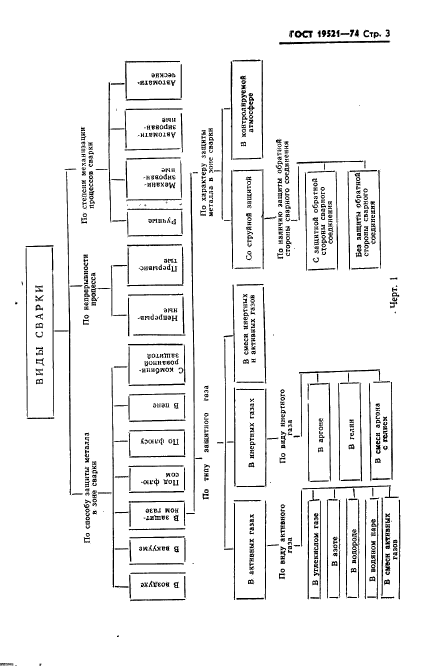
| Область применения: | Настоящий стандарт устанавливает классификацию сварки металлов по основным физическим, техническим и технологическим призракам |
|