| Обозначение: |  ГОСТ 19879-74 |
| Статус: | действующий |
| Название рус.: | Метчики машинные для трубной цилиндрической резьбы, оснащенные твердосплавными пластинами. Технические условия |
| Название англ.: | Carbide tipped machine taps for pipe cylindrical thread. Specifications |
| Дата актуализации текста: | 06.04.2015 |
| Дата актуализации описания: | 01.07.2023 |
| Дата издания: | 01.08.1987 |
| Дата введения: | 01.01.1976 |
| Код ОКП: | 391300 |
| Нормативные ссылки: | ГОСТ 8.051-81; ГОСТ 9.014-78; ГОСТ 1215-79; ГОСТ 1412-85; ГОСТ 2789-73; ГОСТ 3882-74; ГОСТ 4543-71; ГОСТ 5950-73; ГОСТ 6357-81; ГОСТ 9013-59; ГОСТ 9378-75; ГОСТ 9523-84; ГОСТ 14034-74; ГОСТ 17039-71; ГОСТ 18088-83; ГОСТ 19090-73; ГОСТ 19738-74; ГОСТ 23677-79; ГОСТ 23726-79; ГОСТ 25416-82; ГОСТ 25425-82; ГОСТ 25706-83 |
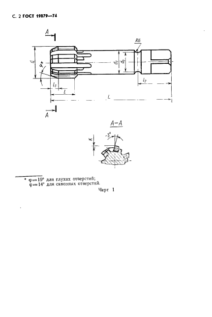
| Область применения: | Настоящий стандарт распространяется на одинарные машинные метчики, оснащенные твердосплавными пластинами, предназначенные для нарезания трубных цилиндрических резьб по ГОСТ 6357-81 в сквозных и глухих отверстиях деталей из чугуна твердостью до НВ 300 |
| Список изменений: | №1 от 01.01.1988 (рег. 09.06.1987) «Поправка» |
|