| Обозначение: |  ГОСТ 11788-74 |
| Статус: | действующий |
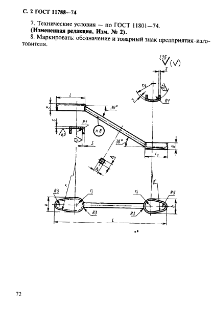
| Название рус.: | Полозки прямые отделочные. Конструкция |
| Название англ.: | Straight finishing beads. Design |
| Дата актуализации текста: | 06.04.2015 |
| Дата актуализации описания: | 01.07.2023 |
| Дата издания: | 01.01.1997 |
| Дата введения: | 01.07.1975 |
| Код ОКП: | 396560 |
| Взамен: | ГОСТ 11788-66 |
| Нормативные ссылки: | ГОСТ 11801-74; ГОСТ 1435-90; ГОСТ 9.306-85 |
| Область применения: | Настоящий стандарт распространяется на прямые отделочные полозки, применяемые для отделки песчаных литейных форм и стержней |
| Список изменений: | №1 от 01.02.1981 (рег. 13.08.1980) «Срок действия продлен» №2 от 01.01.1986 (рег. 19.06.1985) «Срок действия продлен» №3 от 01.01.1993 (рег. 11.05.1992) «Поправка» |
|