Скачать ГОСТ 19494-74 Краны консольные стационарные поворотные ручные. Типы. Основные параметры и размерыДата актуализации: 01.06.2025 ГОСТ 19494-74
Краны консольные стационарные поворотные ручные. Типы. Основные параметры и размеры
| Обозначение: |  ГОСТ 19494-74 |
| Статус: | действующий |
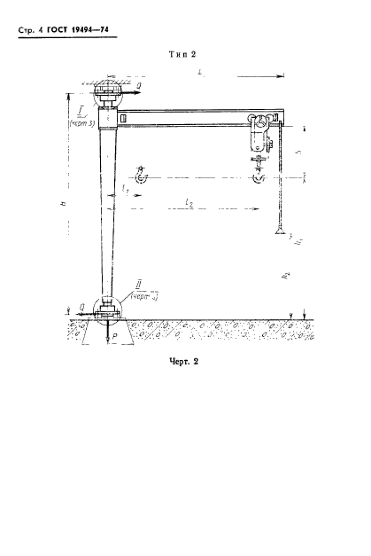
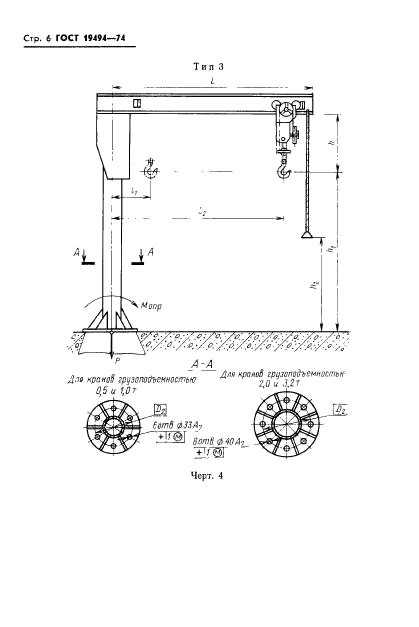
| Название рус.: | Краны консольные стационарные поворотные ручные. Типы. Основные параметры и размеры | | Название англ.: | Cantilever slerung hand-operated stationary cranes. Types. Basic parameters and dimensions | | Дата актуализации текста: | 06.04.2015 | | Дата актуализации описания: | 01.07.2023 | | Дата издания: | 01.04.1974 | | Дата введения: | 01.07.1974 | | Код ОКП: | 315930 | | Нормативные ссылки: | ГОСТ 15150-69; ГОСТ 1106-64 | | Область применения: | Настоящий стандарт распространяется на консольные стационарные поворотные ручные краны общего назначения грузоподъемностью от 0,5 до 3,2 т, климатического исполнения V категорий 2 и 3 по ГОСТ 15150. Стандарт не распространяется на консольные краны, предназначенные для работы во взрывоопасной среде, транспортирования расплавленного или раскаленного металла, огнеопасных веществ, ядов, а также на консольные краны специального назначения | |
             
|