| Обозначение: |  ГОСТ 20245-74 |
| Статус: | не действует в РФ |
| Название рус.: | Гидроаппаратура. Правила приемки и методы испытаний |
| Название англ.: | Hydraulic valves. Acceptance rules and methods of tests |
| Дата актуализации текста: | 06.04.2015 |
| Дата актуализации описания: | 01.06.2024 |
| Дата издания: | 01.08.1991 |
| Дата введения: | 01.07.1976 |
| Дата окончания срока действия: | 01.02.2024 |
| Код ОКП: | 414400 |
| На территории РФ пользоваться: | ГОСТ Р 71178-2023 |
| Нормативные ссылки: | ГОСТ 2.601-68; ГОСТ 12.2.086-83; ГОСТ 15151-69; ГОСТ 16962-71; ГОСТ 17108-86; ГОСТ 17216-71; ГОСТ 22976-78 |
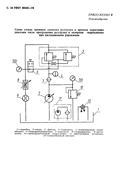
| Область применения: | Настоящий стандарт распространяется на гидроаппаратуру гидроприводов и устанавливает правила приемки и методы контрольных испытаний. Стандарт не распространяется на логические гидроклапаны и дросселирующие гидрораспределители |
| Список изменений: | №1 от 01.08.1981 (рег. 17.06.1981) «Срок действия продлен» №2 от 01.01.1983 (рег. 17.05.1982) «Срок действия продлен» №3 от 01.12.1987 (рег. 10.06.1987) «Срок действия продлен» |
|