| Обозначение: |  ГОСТ 20106-74 |
| Статус: | действующий |
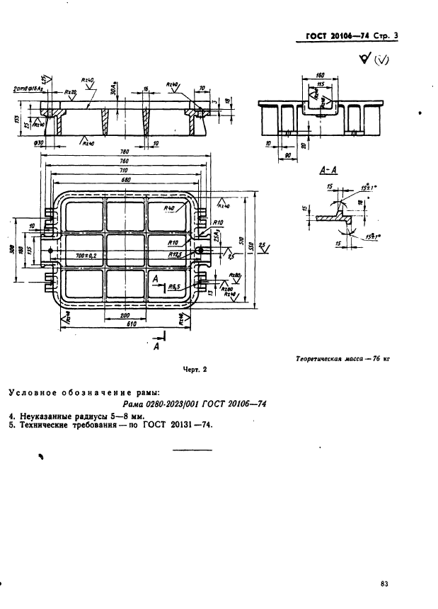
| Название рус.: | Плиты модельные стальные со сменными металлическими вкладышами для опок размерами в свету 600х500 мм на формовочные литейные машины без поворота полуформы с допрессовкой. Конструкция и размеры |
| Название англ.: | Steel pattern plates with changeable metal inserts for moulding boxes having inside dimensions 600x500 mm for moulding foundry machines without turn of half mould with squeezing. Design and dimensions |
| Дата актуализации текста: | 06.04.2015 |
| Дата актуализации описания: | 01.07.2023 |
| Дата издания: | 22.10.1974 |
| Дата введения: | 01.01.1976 |
| Код ОКП: | 396190 |
| Нормативные ссылки: | ГОСТ 5927-70; ГОСТ 6402-70; ГОСТ 13152-67; ГОСТ 17475-72; ГОСТ 20089-74; ГОСТ 20124-74; ГОСТ 20125-74; ГОСТ 20126-74; ГОСТ 20127-74; ГОСТ 20129-74; ГОСТ 20130-74; ГОСТ 20131-80 |
| Область применения: | Настоящий стандарт устанавливает конструкцию и размеры модельных плит |
| Список изменений: | №1 от 01.10.1981 (рег. 01.06.1981) «Срок действия продлен» |
|