| Обозначение: |  ГОСТ 21132.0-75 |
| Статус: | действующий |
| Название рус.: | Алюминий и сплавы алюминиевые. Метод определения содержания водорода в жидком металле |
| Название англ.: | Aluminium alloys. Method for determination of hydrogen content in molten metal |
| Дата актуализации текста: | 06.04.2015 |
| Дата актуализации описания: | 01.07.2023 |
| Дата издания: | 01.09.2004 |
| Дата введения: | 01.01.1977 |
| Код ОКП: | 171200;171300 |
| Содержит требования: | СТ СЭВ 2281-80 |
| Нормативные ссылки: | ГОСТ 1012-72; ГОСТ 4658-73; ГОСТ 5556-81; ГОСТ 23013-73 |
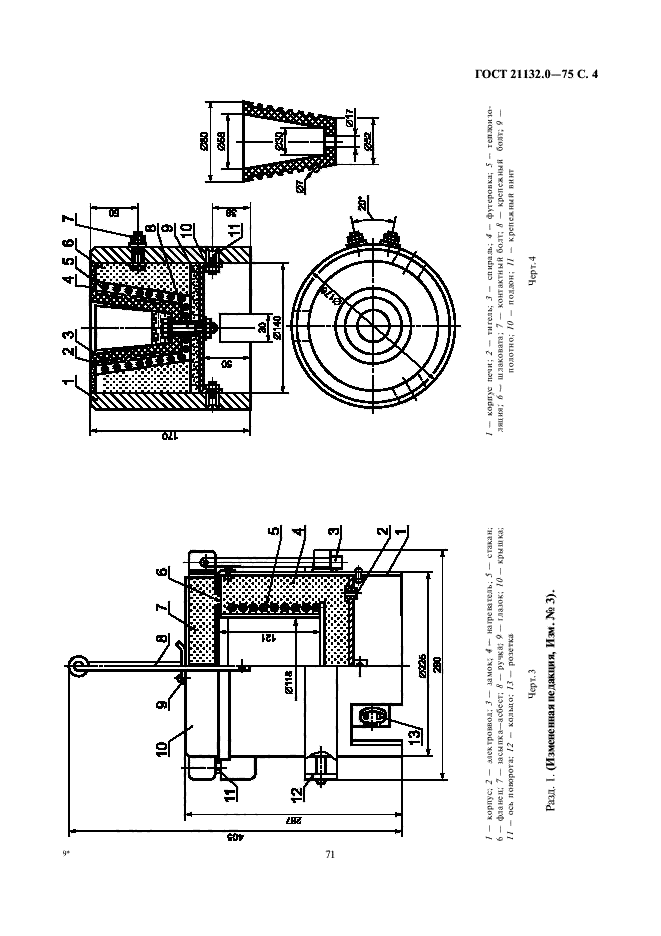
| Область применения: | Настоящий стандарт устанавливает метод определения содержания водорода в жидком металле по выделению первого пузырька в алюминии и алюминиевых сплавах (при содержании водорода от 0,05 до 1,0 см куб. на 100 г металла) |
| Список изменений: | №1 от 30.06.1979 (рег. 26.02.1979) «Срок действия продлен» №2 от 01.01.1982 (рег. 12.01.1982) «Срок действия продлен» №3 от 01.01.1987 (рег. 17.06.1986) «Срок действия продлен» |
|