Скачать ГОСТ 21106.2-75 Лампы генераторные, мощностью рассеиваемой анодом, свыше 25 Вт. Метод измерения относительного уровня комбинационных составляющихДата актуализации: 01.06.2025 ГОСТ 21106.2-75
Лампы генераторные, мощностью рассеиваемой анодом, свыше 25 Вт. Метод измерения относительного уровня комбинационных составляющих
| Обозначение: |  ГОСТ 21106.2-75 |
| Статус: | действующий |
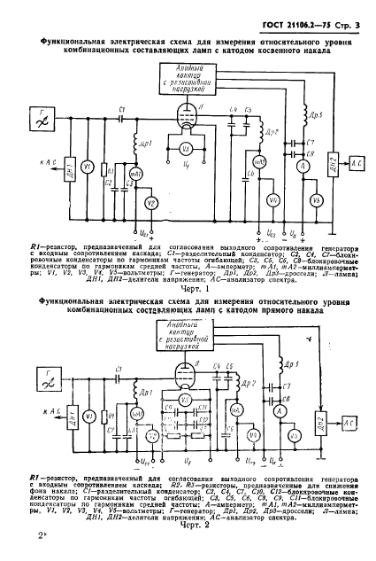
| Название рус.: | Лампы генераторные, мощностью рассеиваемой анодом, свыше 25 Вт. Метод измерения относительного уровня комбинационных составляющих | | Название англ.: | Oscillator tubes anode dissipated more than 25 W. Test method for relative level of combinative products | | Дата актуализации текста: | 06.04.2015 | | Дата актуализации описания: | 01.07.2023 | | Дата издания: | 10.12.1975 | | Дата введения: | 01.01.1977 | | Код ОКП: | 634300 | | Нормативные ссылки: | ГОСТ 20412-75; ГОСТ 21106.0-75 | | Область применения: | Настоящий стандарт распространяется на генераторные лампы мощностью, рассеиваемой анодом, свыше 25 Вт, предназначенные для усиления мощности на частотах до 300 МГц, и устанавливает метод измерения относительного уровня комбинационных составляющих | | Список изменений: | №0 от 27.06.1990 (рег. 27.06.1990) «Восстановлен на территории СНГ» №0 от 01.07.1989 (рег. 04.05.1988) «Текстовое изменение; Изменено заглавие» №0 от 29.04.1987 (рег. 28.04.1987) «Срок действия продлен» | |
                   
|