| Обозначение: |  ГОСТ 20536-75 |
| Статус: | не действует в РФ |
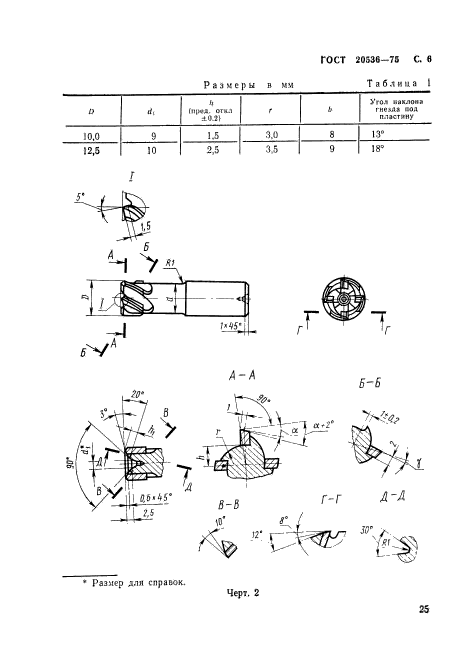
| Название рус.: | Фрезы концевые диаметром от 10 до 20 мм с цилиндрическим хвостовиком, оснащенные винтовыми твердосплавными пластинами. Конструкция и размеры |
| Название англ.: | Pintle end mills of 10-20 mm diameter with spiral carbide blades. Construction and dimensions |
| Дата актуализации текста: | 06.04.2015 |
| Дата актуализации описания: | 01.07.2023 |
| Дата издания: | 01.01.1995 |
| Дата введения: | 01.01.1977 |
| Дата окончания срока действия: | 01.01.2011 |
| Код ОКП: | 391853 |
| Взамен: | МН 4162-62;МН 4163-62 |
| На территории РФ пользоваться: | ГОСТ Р 53413-2009 |
| Нормативные ссылки: | ГОСТ 20539-75; ГОСТ 25414-82 |
| Область применения: | Настоящий стандарт распространяется на концевые фрезы, оснащенные винтовыми твердосплавными пластинами, предназначенные для обработки стали, чугуна и бронзы, а также труднообрабатываемых сталей и сплавов |
| Список изменений: | №0 от 01.01.2011 (рег. 15.10.2009) «Поправка к изменению» №1 от 01.03.1980 (рег. 28.01.1980) «Срок действия продлен» №2 от 01.05.1987 (рег. 20.12.1986) «Срок действия продлен» |
|