| Обозначение: |  ГОСТ 444-75 |
| Статус: | заменён |
| Название рус.: | Колчедан серный флотационный. Технические условия |
| Название англ.: | Flotation pyrite. Specifications |
| Дата актуализации текста: | 06.04.2015 |
| Дата актуализации описания: | 01.07.2023 |
| Дата издания: | 01.10.1997 |
| Дата введения: | 01.01.1977 |
| Дата окончания срока действия: | 01.04.2018 |
| Код ОКП: | 176932 |
| Взамен: | ГОСТ 444-51 |
| Заменяющий: | ГОСТ 444-2016 |
| Нормативные ссылки: | ГОСТ 8.010-90; ГОСТ 12.1.005-88; ГОСТ 12.3.009-76; ГОСТ 12.4.021-75; ГОСТ 12.4.028-76; ГОСТ 61-75; ГОСТ 200-76; ГОСТ 1027-67; ГОСТ 1277-75; ГОСТ 1770-74; ГОСТ 3117-78; ГОСТ 3118-77; ГОСТ 3640-94; ГОСТ 3757-75; ГОСТ 3760-79; ГОСТ 3769-78; ГОСТ 3778-77; ГОСТ 4038-79; ГОСТ 4159-79; ГОСТ 4165-78; ГОСТ 4204-77; ГОСТ 4208-72; ГОСТ 4212-76; ГОСТ 4217-77; ГОСТ 4220-75; ГОСТ 4233-77; ГОСТ 4328-77; ГОСТ 4461-77; ГОСТ 4463-76; ГОСТ 4517-87; ГОСТ 4518-75; ГОСТ 4658-73; ГОСТ 4919.1-77; ГОСТ 6341-75; ГОСТ 6613-86; ГОСТ 6709-72; ГОСТ 8864-71; ГОСТ 9147-80; ГОСТ 9428-73; ГОСТ 9656-75; ГОСТ 9932-75; ГОСТ 10161-83; ГОСТ 10929-76; ГОСТ 13170-80; ГОСТ 14180-80; ГОСТ 18300-87; ГОСТ 20289-74; ГОСТ 20490-75; ГОСТ 22235-76; ГОСТ 23932-90; ГОСТ 24104-88; ГОСТ 24363-80; ГОСТ 25336-82; ГОСТ 25794.1-83; ГОСТ 27329-87; ГОСТ 29227-91; ГОСТ 29251-91 |
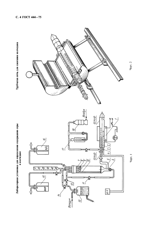
| Область применения: | Настоящий стандарт распространяется на флотационный серный колчедан, изготовляемый для нужд народного хозяйства и для экспорта и получаемый при флотации пиритсодержащих руд цветных металлов и серного колчедана хвостохранилищ обогатительных фабрик |
| Список изменений: | №1 от 01.05.1981 (рег. 10.02.1981) «Срок действия продлен» №2 от 01.07.1987 (рег. 30.12.1986) «Срок действия продлен» №3 от 01.01.1992 (рег. 26.06.1991) «Срок действия продлен» |
|