| Обозначение: |  ГОСТ 21318-75 |
| Статус: | действующий |
| Название рус.: | Измерение микротвердости царапанием алмазными наконечниками |
| Название англ.: | Measurement of microhardness by scratch diamond instruments |
| Дата актуализации текста: | 06.04.2015 |
| Дата актуализации описания: | 01.07.2023 |
| Дата издания: | 18.02.1976 |
| Дата введения: | 01.07.1976 |
| Нормативные ссылки: | ГОСТ 2789-73; ГОСТ 9377-81; ГОСТ 10717-75 |
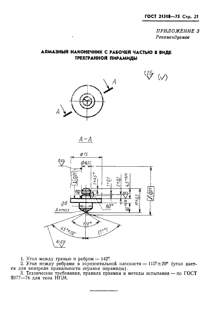
| Область применения: | Настоящий стандарт устанавливает метод измерения микротвердости царапанием поверхностного слоя (нанесением канавки) четырехгранной или трехгранной алмазной пирамидой под действием нормальной нагрузки от 0,049 до 1,962 Н (от 0,005 до 0,200 кгс). Стандарт не распространяется: на измерения микротвердости алмаза и его производных и на случаи, когда ширину канавки невозможно измерить из-за неопределенности контура ее границы |
| Список изменений: | №1 от 30.06.1983 (рег. 07.09.1982) «Срок действия продлен» |
|